电缆马脚

新型电缆支架加工安装图
图片尺寸792x589
经开区:"耗子搬家"终露马脚,警方循线破案获点赞_电缆_黄某恒_工地
图片尺寸1080x1705
无感电缆_通水电缆_空冷电缆 军马焊接
图片尺寸566x566
不锈钢彩色管304 316不锈钢毛细管钛金色无缝管 各种拉.
图片尺寸1920x1440
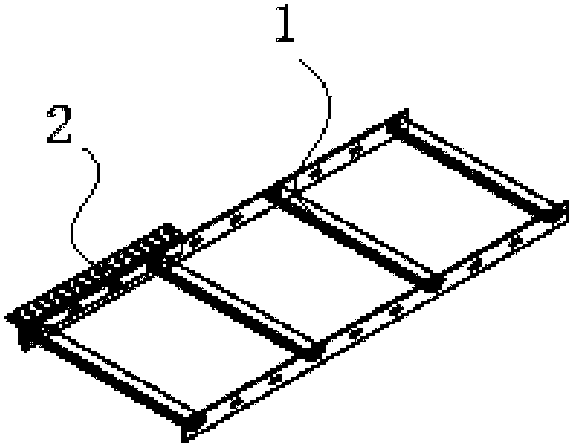
一种船舶建造用电缆转弯敷设的电缆托架
图片尺寸1852x1452
哇,修马脚,原来是这样的,修过以后看起来好爽!
图片尺寸2048x1151
线缆固定座的制作方法
图片尺寸1000x803
解决了现有技术的固定式马脚,不能保证合适的电缆弯曲半径而使电缆弯
图片尺寸1000x667
一种用于单管道的马脚隔振装置的制作方法
图片尺寸994x967
文档:pdfdoctxt电缆桥架的注意事项电缆桥架不宜与下列管道平行敷设
图片尺寸400x326
电缆布置马虎不得,综合布线系统施工技巧分享
图片尺寸640x425