电脱盐罐结构图

电脱盐罐机械设备cad图纸
图片尺寸870x595
高速电脱盐罐
图片尺寸500x355
一种带排净管线的电脱盐罐-爱企查
图片尺寸1735x1767
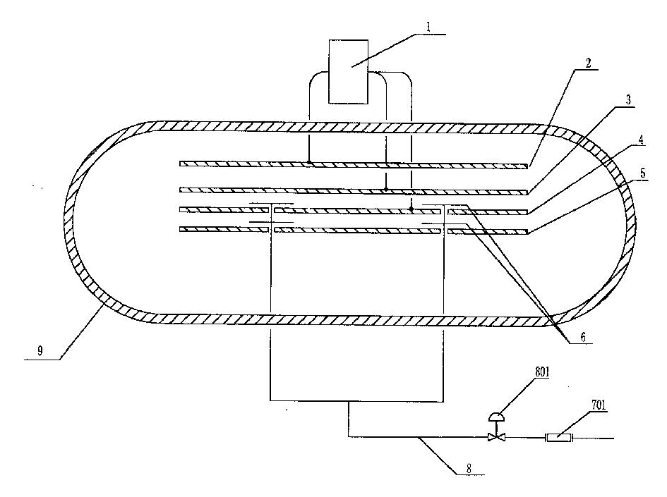
摘要附图摘要一种原油电脱盐动态试验装置,包括一个罐体,且罐体呈卧式
图片尺寸2036x1545
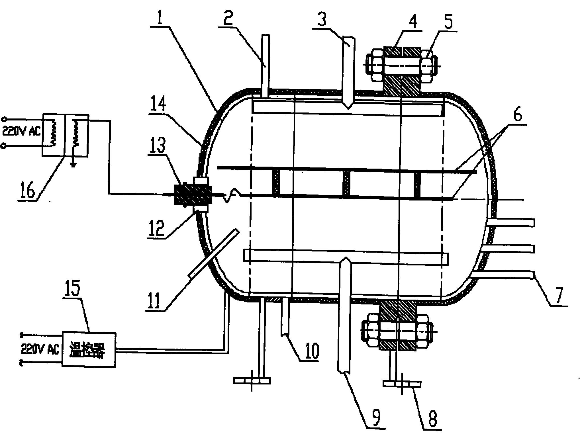
01)i 发明名称 一种原油电脱盐脱水器 发明人 崔新安;汪实彬;刘家国
图片尺寸859x1000
一种新型电脱盐罐的制作方法
图片尺寸1772x1436
电脱盐 设计
图片尺寸1042x675
电脱盐装置的制作方法
图片尺寸1000x454
如在流花油田的fpso上采用了电脱盐/脱水合二为一的技术装备,在一个罐
图片尺寸437x255
一种电脱盐脱水设备
图片尺寸1726x862
电脱盐罐cad装配图设计及代画cad图纸计算精品店长推荐包邮
图片尺寸663x420
原油高速电脱盐,电脱水设备
图片尺寸945x705
cn204369813u_一种电脱盐设备有效
图片尺寸759x496
电脱盐 设计
图片尺寸872x608
炼油厂电脱盐用破乳剂的研究进展
图片尺寸311x227
塔式光热电站热盐罐故障类型及原因分析
图片尺寸947x381
第五代电脱盐技术:双频和交直流复合电场电脱盐技术特别针对重质,劣质
图片尺寸929x337
一种电加热,换热,储热一体式结构的熔盐储罐的制作方法
图片尺寸1000x946
一种基于电子调控的产电脱盐处理含丙烯腈炼化废水装置的应用方法制造
图片尺寸1000x731
电脱盐污水模块化深度除油设备工艺
图片尺寸385x413