电解槽示意图

电解槽
图片尺寸604x615
碱性电解槽构成示意图 资料来源:《中国电解水制氢产业蓝皮书
图片尺寸906x714
双极式电解槽结构 | 2024北京氢能展
图片尺寸1280x720
碱性水电解用电解槽
图片尺寸2370x1691
离子膜电解槽原理图
图片尺寸558x572
如图是电解槽的示意图.
图片尺寸5580x2910
一种提高电流效率和防结晶的金属锰电解槽
图片尺寸2048x2480
铝电解槽
图片尺寸502x521
一种用于铜离子回收的电解槽
图片尺寸1823x1526
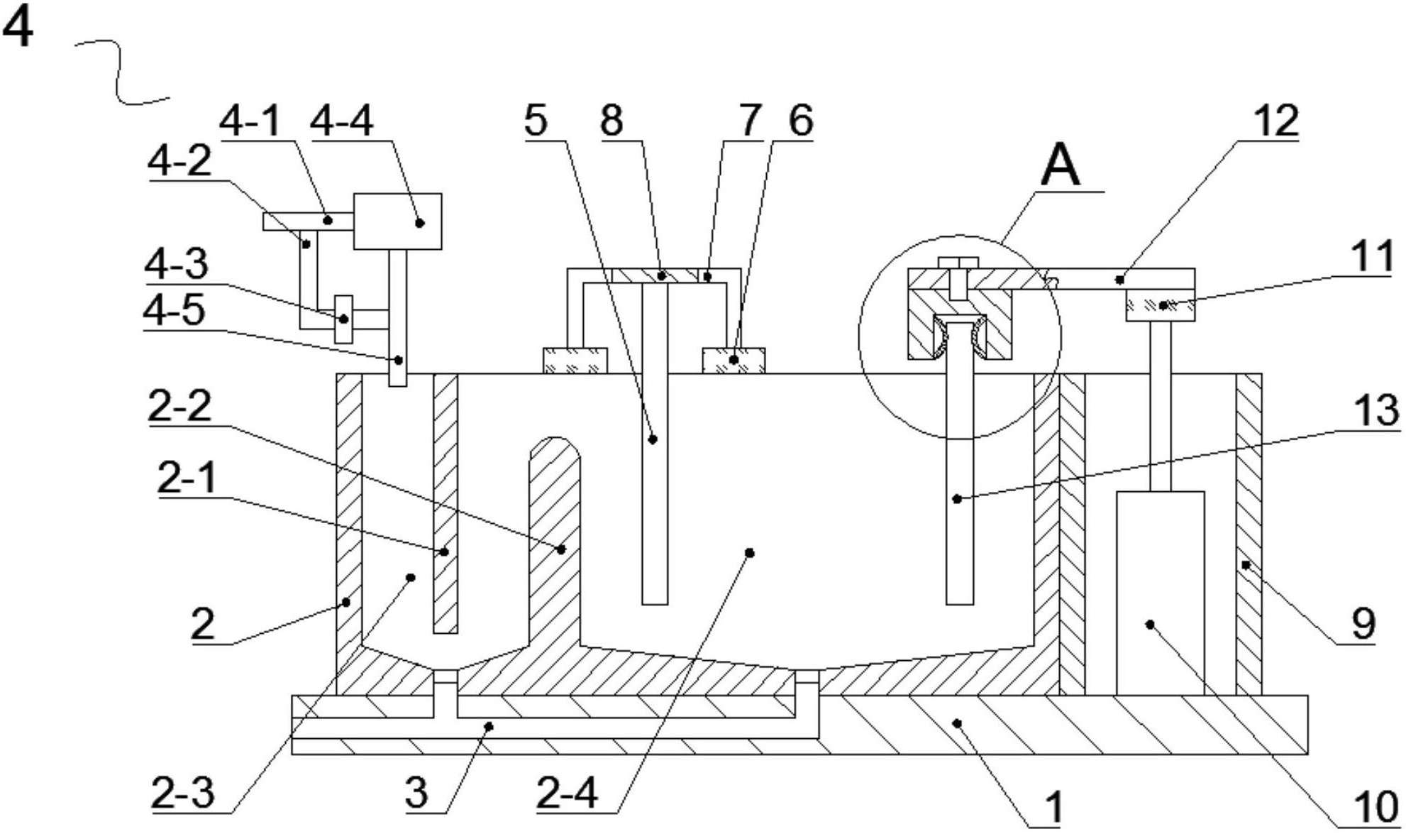
cn107893240a_一种预焙阳极铝电解槽在审
图片尺寸1901x1855
2.1电解槽断面示意图
图片尺寸576x296
图1 水电解槽的示意图
图片尺寸700x697
djc2电解槽(1000kg)槽体cad图纸dwg图纸
图片尺寸809x577
电解槽
图片尺寸677x557
铝电解槽如何在稳定生产中保温隔热提高效率降低碳减排
图片尺寸554x343
挪威科纳斯独特的铝电解槽主动冷却技术
图片尺寸500x338
水银电解槽的流程图
图片尺寸1186x827
示意图显示了电解槽的工作原理,标有阳极,阴极和隔膜组件.
图片尺寸685x599
cn102317505b_高压电解槽有效
图片尺寸1000x931
铜精炼电解槽-爱企查
图片尺寸1982x1175