电解水制氢装置简图

电解水制氢ppt
图片尺寸920x690
电解水制氢系统
图片尺寸1280x870
站内电解水制氢加氢站工艺流程
图片尺寸1618x702
一种多台电解槽的电解水制氢装置及方法
图片尺寸1695x851
电解水制氢学习笔记之【制氢生产流程与电解槽组装】
图片尺寸1013x652
电解水生成装置的制作方法
图片尺寸822x1000
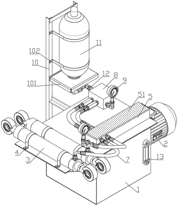
一种光伏利用电解水制氢装置-爱企查
图片尺寸692x800
3pem电解水制氢系统简介
图片尺寸554x355
一种波动型功率输入的电解水制氢方法及其装置与流程
图片尺寸1000x549
一种风能宽功率下电解水制氢装置的制作方法
图片尺寸1000x580
一种环保型电解水制氢设备-爱企查
图片尺寸1648x1416
一种新型电解水制氢工艺的制作方法
图片尺寸969x824
一种有机物电解制氢的方法与流程
图片尺寸1000x504
一种基于磁致能级跃迁的电解水制氢系统及方法与流程
图片尺寸444x320
电解水制氢装置及制氢方法
图片尺寸1000x451
水制备氢气的半导体器件装置,是一种直接利用太阳能电解水制氢的方法
图片尺寸481x476
cn113089008a_一种风电电解水制氢系统在审
图片尺寸2092x1540
一种电解水制氢装置
图片尺寸443x218
用如图1所示装置进行电解水的实验,b 玻璃管中产生的气体 (写出该
图片尺寸487x628
一种新型电极用于通过电解水分解制氢
图片尺寸827x346