电路检测器怎么画

插座电源极性检测器
图片尺寸707x800
电路检测器怎么画
图片尺寸450x330
电路检测器简笔画
图片尺寸743x423
宽带峰值检测器电路图
图片尺寸761x426
电路检测器简笔画
图片尺寸332x213
请帮忙设计一个三极管电极检测器电路.
图片尺寸312x344
气相色谱检测器介绍
图片尺寸772x410
检测器电路的制作方法
图片尺寸444x345
本实用新型涉及电阻测量仪器的技术领域,尤其是涉及一种绝缘电阻测试
图片尺寸851x1000
燃烧器用紫外火焰检测器-爱企查
图片尺寸1320x832
核粒子检测器电路图
图片尺寸336x233
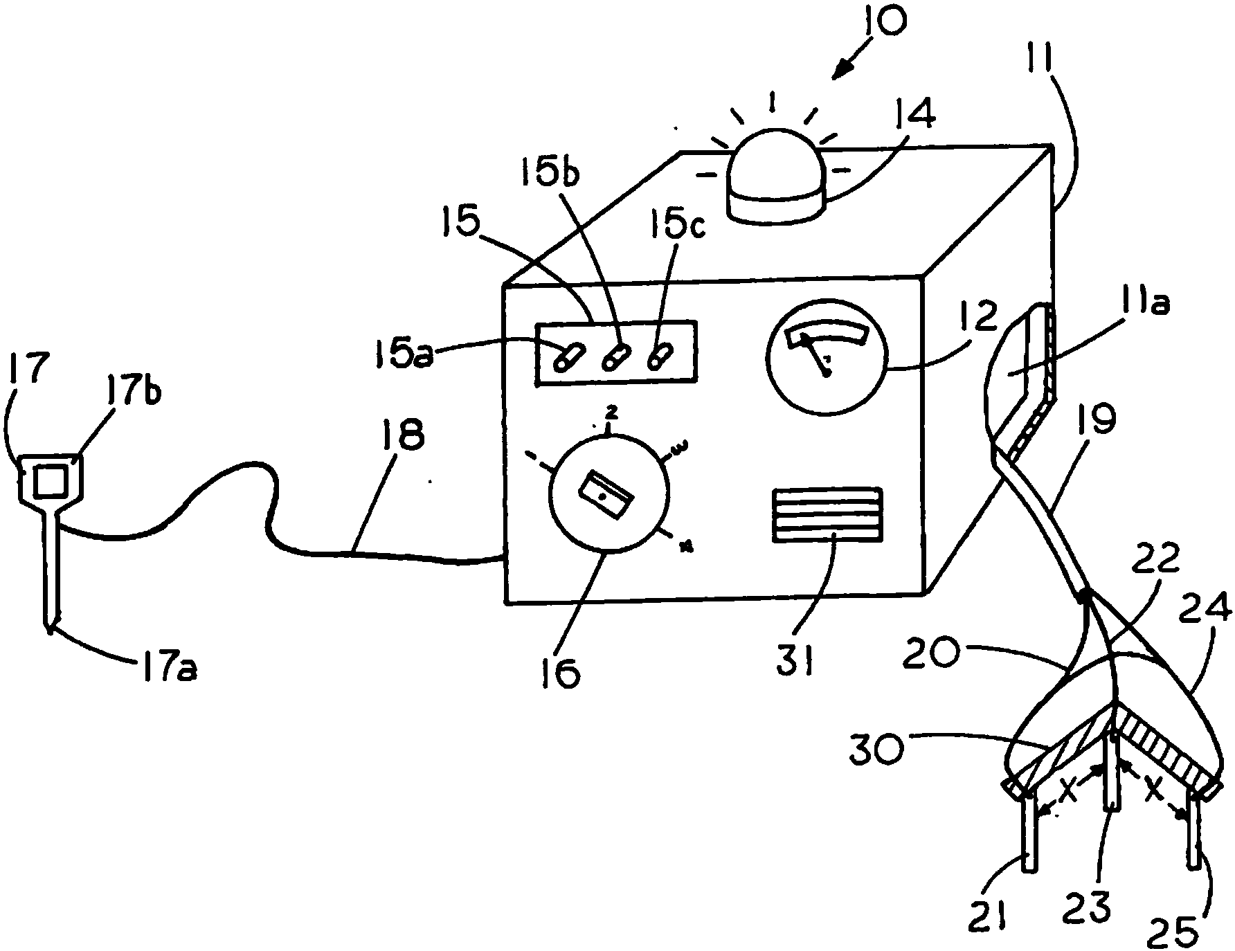
cn104704539b_电击检测器有效
图片尺寸1784x1374
窗口检测器电路图
图片尺寸271x344
2019年中考物理总复习第十三讲电流和电路考点跟踪突破训练答案
图片尺寸791x495
温度检测器电路图
图片尺寸602x225
一种红外遥控检测器制造技术
图片尺寸1000x458
隐蔽电线检测器电路图
图片尺寸495x418![(2)[4]根据电路图甲所示电路图连接实物电路图,实物电路图如图所示](https://i.ecywang.com/upload/1/img1.baidu.com/it/u=4088655152,628753298&fm=253&fmt=auto&app=138&f=PNG?w=381&h=258)
(2)[4]根据电路图甲所示电路图连接实物电路图,实物电路图如图所示
图片尺寸381x258
在网上买了个元件,做了个雨滴检测器的小单片机,但是看不懂他的电路图
图片尺寸949x557
5 v,正常发光时的电阻约为10 Ω,所用滑动变阻器的规
图片尺寸1718x934