电链锯拆卸图解

德国卡玛顿电锯充电式户外大功率家用锂电池伐木锯树手持电链锯16寸电
图片尺寸990x1267
东成伐木电链锯m1l-ff02-405大功率木工链条电动锯16寸免油多功能
图片尺寸800x800
一百多的电链锯拆解!大家看看内部做工怎么样
图片尺寸1152x720
16寸电链锯链轮拆卸视频
图片尺寸544x960
一百六十块钱的电链锯拆解!拆开一开还真是无刷电机
图片尺寸640x360
安捷顺电链锯多功能家用木工电锯伐木锯链条锯电动工具
图片尺寸790x691
利祥电链锯多功能家用大功率油锯木工电锯伐木锯伐木机砍树机电动链条
图片尺寸790x1063
格力博greenworks80v锂电锯csb401充电式电链锯大功率家用伐木锯户外
图片尺寸790x1254
一种无刷电机电链锯的制作方法
图片尺寸1000x547
波斯bosi工具手持电锯伐木据家用电链锯多功能链条锯树机大功率木工
图片尺寸790x1447
电锯充电式单手电链锯家用锯柴小型手持户外无线电动锂电伐木锯子
图片尺寸750x1306
一种电链锯的制作方法
图片尺寸772x1000
电锯家用220v伐木锯电链锯 小型多功能木工角磨机链条锯改装手提
图片尺寸750x571
一种电链锯的制作方法
图片尺寸1000x796
波斯bosi工具手持电锯伐木据家用电链锯多功能链条锯树机大功率木工
图片尺寸790x1149
电链锯的制作方法
图片尺寸646x738
安捷顺电链锯多功能家用大功率油锯木工电锯伐木锯伐木机砍树机电动
图片尺寸750x1200
大功率充电式电锯24v48v60v手持小型电链锯 72v直流电锯(1个链条
图片尺寸750x646
电链锯
图片尺寸646x738
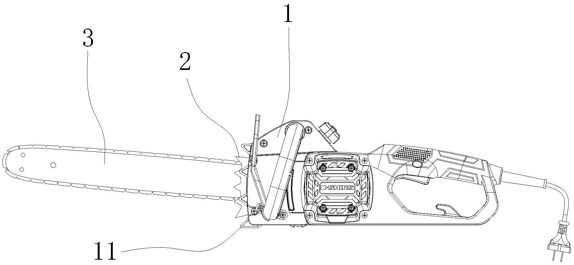
电链锯的双齿稳定结构
图片尺寸1827x845