电镀装置图

cn101457379b_在半导体工件上电镀金属的电镀装置有效
图片尺寸1993x1856
一种便于金属表面处理用电镀装置
图片尺寸1702x1870
电镀装置
图片尺寸1674x1481
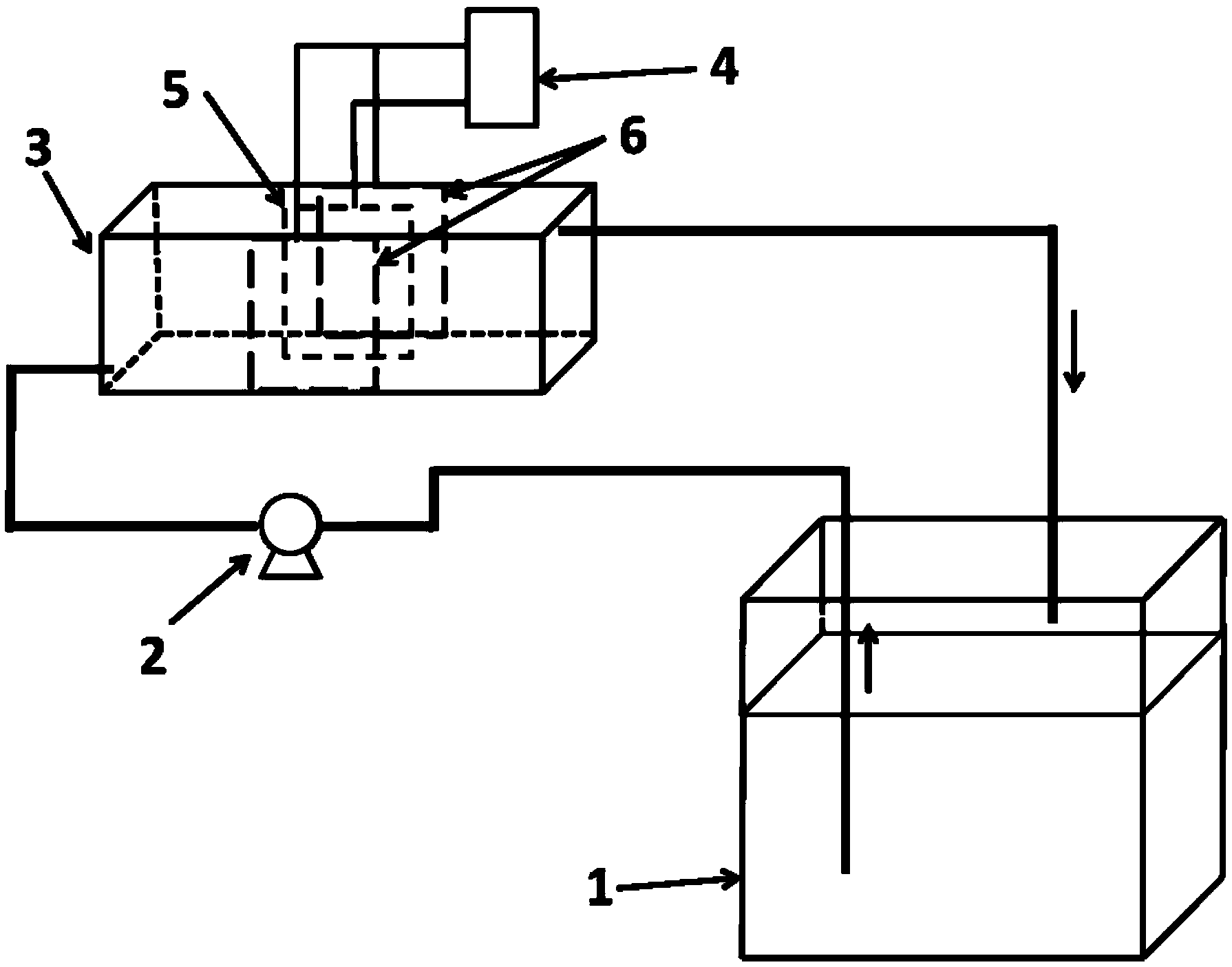
图1 电镀装置示意图
图片尺寸358x220
cn101451264a_电镀装置及电镀方法有效
图片尺寸1432x2129
一种金刚线的电镀装置
图片尺寸1858x1399
一种复合镀层电镀装置及电镀方法
图片尺寸1000x846
cn101974771a_一种旋转电镀装置有效
图片尺寸1946x1454
电镀装置制造方法及图纸
图片尺寸1000x883
cn205295509u_一种泡沫镍及泡沫镍基合金电镀装置有效
图片尺寸1790x1405
cn1317825a_电镀装置有效
图片尺寸2000x1066
晶片的电镀装置制造方法及图纸
图片尺寸634x1000
一种自动电镀装置
图片尺寸382x351
连续电镀装置
图片尺寸1000x664
熔融金属电镀装置及熔融金属电镀方法
图片尺寸800x516
cn105908232b_电镀方法和电镀装置有效
图片尺寸2636x1610
cn1508296a_电镀装置以及电镀方法失效
图片尺寸709x451
成都实验室电镀槽一体机效果怎么样
图片尺寸640x480
一种连续型滚式电镀装置及其使用方法与流程
图片尺寸435x443
电镀装置
图片尺寸384x443