电镀铜装置图

一种全自动线路板水平沉铜连线vcp电镀装置
图片尺寸2631x1612
电镀铜 徐州镀铜 捭思信机械
图片尺寸500x379
如下图所示某同学设计了一个燃料电池并探究铜的精炼原理和电镀原理
图片尺寸388x185
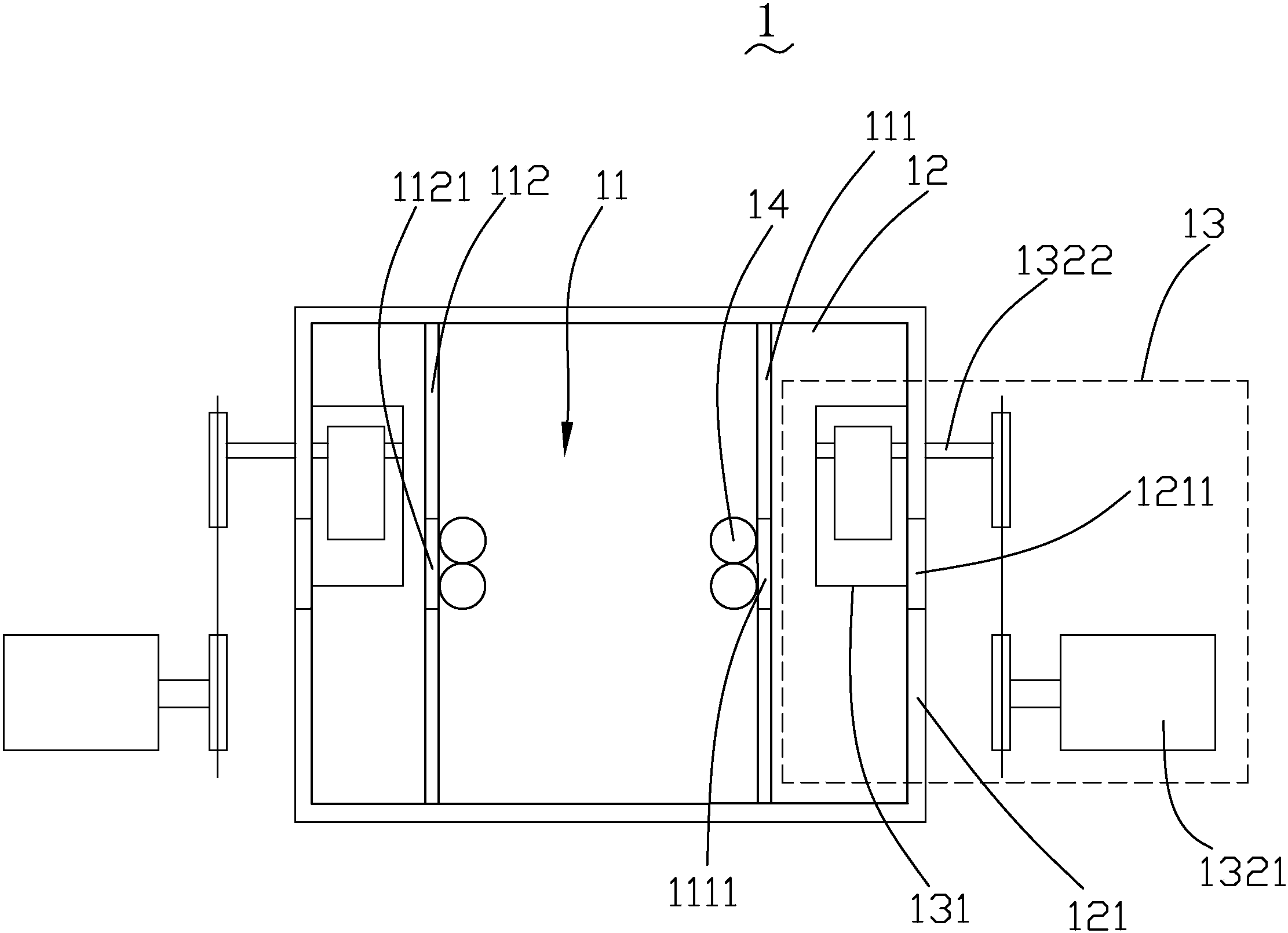
电镀装置制造方法及图纸
图片尺寸1000x883
一种电镀件酸铜电镀装置的制作方法
图片尺寸443x328
卷到卷超宽超厚铜材连续电镀生产线超宽超厚铜材连续电镀生产设备
图片尺寸800x600
一种便于金属表面处理用电镀装置
图片尺寸1702x1870
滚镀铜镍生产线
图片尺寸430x300
供应手动电镀铜设备
图片尺寸760x511![下图是在待镀铁制品上镀铜的实验装置.则下列说法正确的是 [ ] a.](https://i.ecywang.com/upload/1/img0.baidu.com/it/u=1797603534,2753768295&fm=253&fmt=auto&app=138&f=GIF?w=208&h=139)
下图是在待镀铁制品上镀铜的实验装置.则下列说法正确的是 [ ] a.
图片尺寸208x139
cn1317825a_电镀装置有效
图片尺寸2000x1066
cn105220206b_电镀铜槽装置有效
图片尺寸2223x1611
电镀装置及电镀方法与流程
图片尺寸444x239
电镀铜饰品
图片尺寸310x310
手动镀铬电镀设备,镀锌电镀设备,镀铬电镀设备,镀铜电镀设备,振远电镀
图片尺寸600x450
有二级减压器 铜电镀.jpg
图片尺寸597x749
镀铬电镀设备生产线,镀锌电镀设备,镀铬电镀设备,镀铜电镀设备,振远
图片尺寸600x450
工艺首饰镀金镀铜电镀设备出货青岛
图片尺寸910x500
一次铜电镀线 电镀设备 电镀设备厂 电镀设备生产线 电镀线
图片尺寸1024x685
企业新闻news山东省宁阳县具有环评资质的合法电镀企业
图片尺寸695x469