电除雾器结构图

六角蜂窝式pvc电除雾器的工作原理
图片尺寸565x768
400kt_a硫酸系统高效铅电除雾器的设计
图片尺寸893x1041
河北威美电除雾器示意图
图片尺寸750x491
海南湿式除雾器报价
图片尺寸532x768
湿式电除尘除雾器结构图
图片尺寸610x481
电除雾技术:新型玻璃钢电除雾器的设计
图片尺寸750x1113
聚氯乙烯电除雾器
图片尺寸1248x1713
新型玻璃钢电除雾器的设计
图片尺寸1518x2145
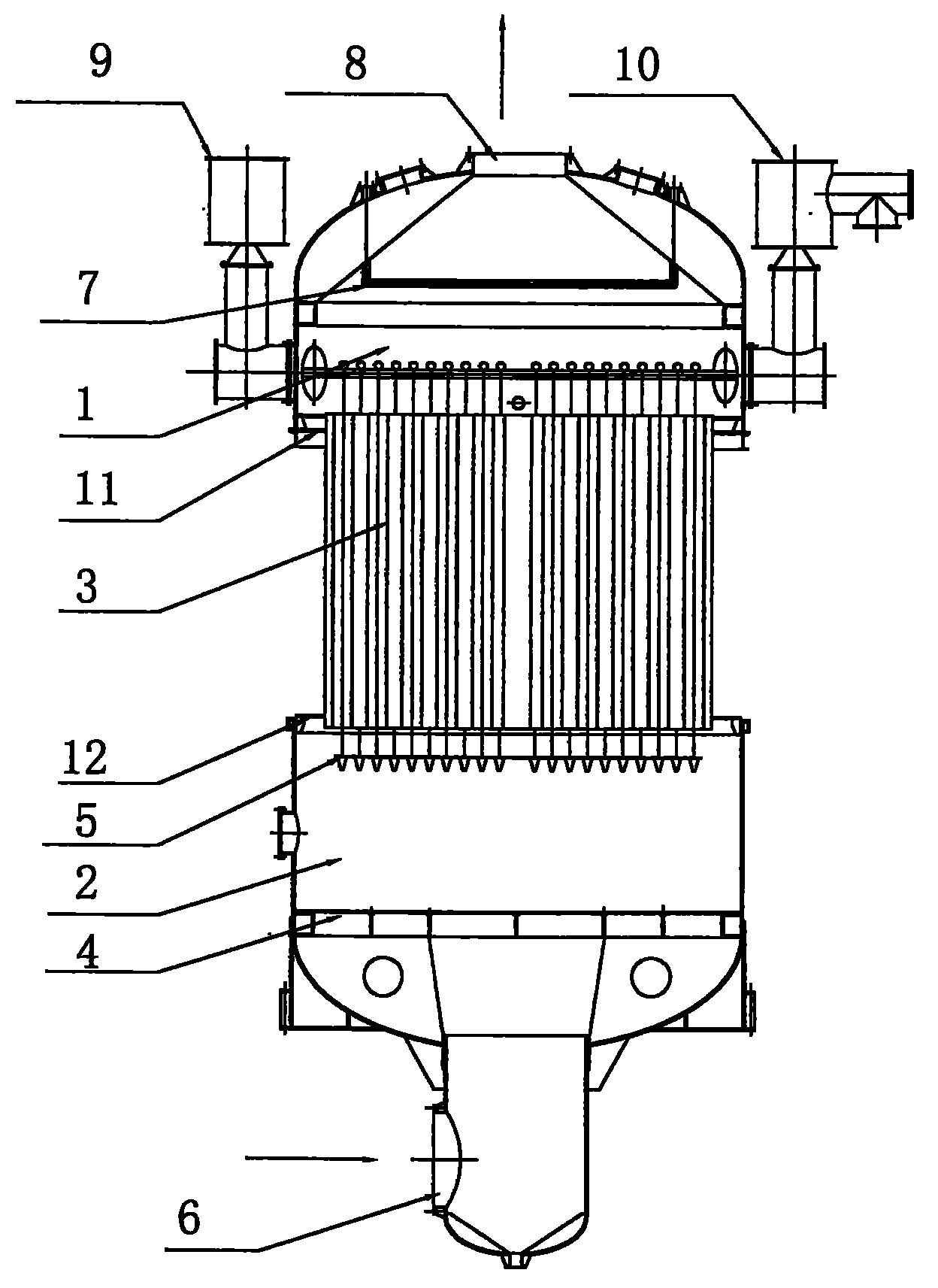
196管湿式电除雾器总图
图片尺寸589x499
湿式静电除尘除雾器净化熔铝炉烟气的应用
图片尺寸420x574
p>除雾器(demister/mist eliminator)主要是由波形叶片, a target="
图片尺寸244x424
一种可调节的湿式电除雾器的制作方法
图片尺寸898x775
卧板型湿式电除雾除尘器制造技术
图片尺寸1000x935
高压静电除雾器的制作方法
图片尺寸282x443
cn206027928u_静电除雾器有效
图片尺寸915x1000
一种化工生产用电除雾器的制作方法
图片尺寸1000x749
威美环保湿式静电除雾器的结构及工作原理配图
图片尺寸967x885
湿式静电式除雾器除尘结构
图片尺寸500x373
除雾器设计图
图片尺寸288x393
湿式高压静电除尘除雾器
图片尺寸1422x2064