电风扇装配图

电风扇装配体
图片尺寸841x594
坐式电扇反求创新设计全套含有cad图纸三维建模
图片尺寸841x594
工业电风扇安装尺寸结构图
图片尺寸350x260
电工知识:电风扇的接线图解,大热天的买了电扇不会接咋办?
图片尺寸544x311
以解决现有技术中的电风扇的风叶装配容易偏心,导致的风扇机头左右
图片尺寸914x1000
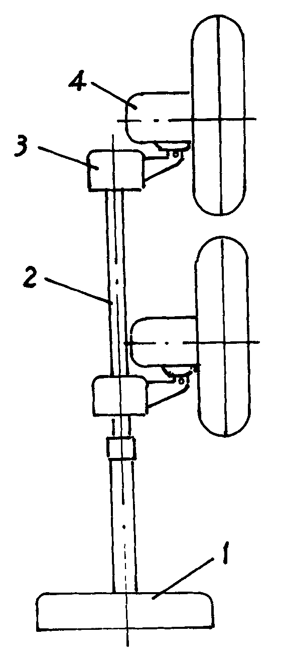
它由配置底座的立柱和于立柱上一上一下经装配座安装的两台电动风扇
图片尺寸560x1311
一种方便装配的摇头风扇的制作方法
图片尺寸1000x716
坐式电扇反求创新设计(含cad零件装配图,solidworks,igs三维图)
图片尺寸693x782
电风扇电容是怎样接线的
图片尺寸1632x1224
一种爪极式永磁电机弹簧启动电风扇的制作方法
图片尺寸995x1000
三 各零件的装配过程二 电风扇的结构和工作原理
图片尺寸628x497
cn202789599u_一种转页式电风扇失效
图片尺寸976x1000
电风扇维修ppt
图片尺寸1080x810
家用落地风扇 - 家用电器图纸 - 沐风网
图片尺寸451x508
用电容增加电风扇的微风档
图片尺寸420x263
用solidworks建模,装配并运动仿照的:摇头风扇
图片尺寸640x926
三 各零件的装配过程二 电风扇的结构和工作原理
图片尺寸531x340
008jx电风扇旋扭的塑料模具设计_装配图网
图片尺寸1200x800
风扇装配图
图片尺寸820x612
坐式电扇反求创新设计含cad零件装配图solidworksigs三维图
图片尺寸700x530