画一个雨量器

cn204515172u_雨量器有效
图片尺寸531x1000
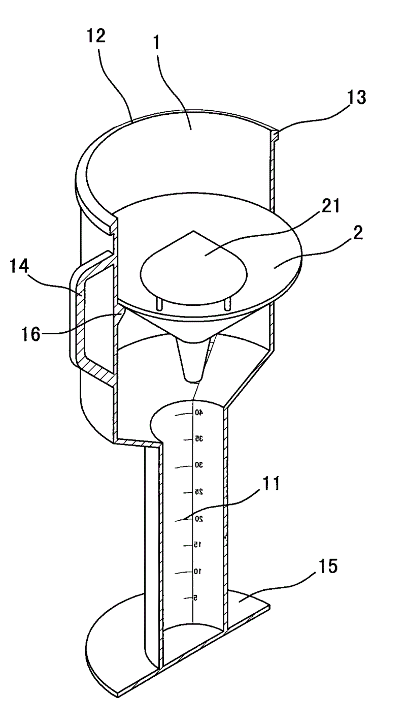
一种可视量雨器的制作方法
图片尺寸757x1000
量雨器
图片尺寸192x608
雨量器↑"想多看几眼"系列↑实验虽然不难,但要做到严谨工整的记录
图片尺寸1080x1439
雨量器
图片尺寸351x360
一种气象检测用雨量器
图片尺寸1010x1151
雨量筒直立安装,器口水平,一般离地面高70厘米.
图片尺寸593x746
雨量器
图片尺寸472x661
一种水利水文用雨量器的制作方法
图片尺寸436x443
可视量雨器
图片尺寸306x360
雨量器-知识服务助手
图片尺寸410x582
学生设计制作雨量器
图片尺寸1440x1920
一场暴雨过后,把雨筒里的积水倒入量杯式雨量器中,读出高度数据,就
图片尺寸640x480
cn201247328y_简易雨量器失效
图片尺寸800x1427
一种方便准确计量时段降水量的人工雨量器的制作方法
图片尺寸605x552
一种可视量雨器-爱企查
图片尺寸1122x1392
一种高稳定性的气象检测用雨量器的制作方法
图片尺寸371x444
雨量收集器简笔画
图片尺寸513x500
一种水利水文量雨器的制作方法
图片尺寸582x1000
一种翻斗式雨量计的制作方法
图片尺寸463x465