画板结构

厂家直销订制4k8k超薄椴木实心绘图画板a2素描写生美术实木绘画板
图片尺寸750x1039
一种便捷式户外测绘画板的制作方法
图片尺寸630x1000
一种平面设计组合画板的制作方法
图片尺寸867x1000
目前市面上的画板玩具,多为简单的画板,结构单一,不能很好
图片尺寸419x443
一种学前教育专业用多功能画板
图片尺寸1674x1173
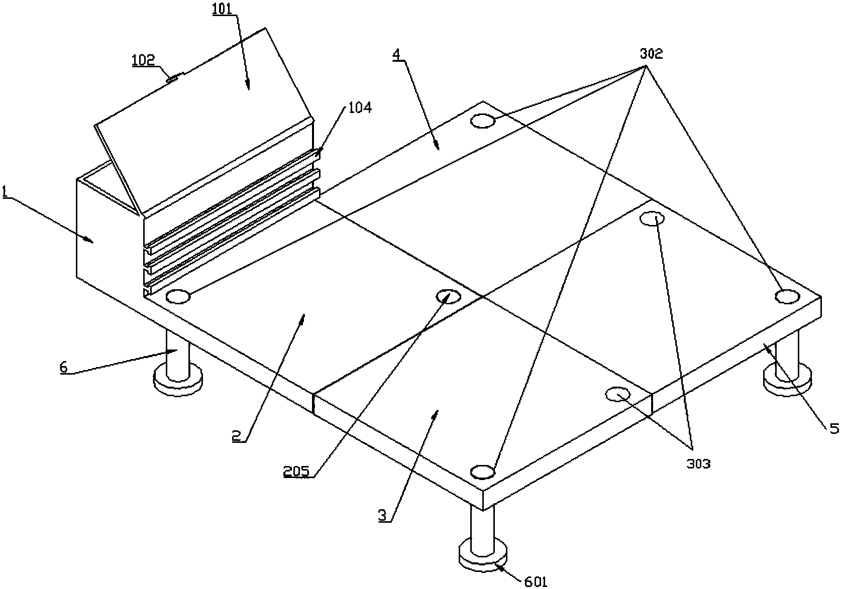
一种设计用组合画板结构
图片尺寸438x443
本实用新型提供了一种动漫画设计画板,包括两个结构相同的画板本体,两
图片尺寸1422x1199
画板是必备用具,用来提供作画平面,现有的画板大都结构简单,为一体
图片尺寸591x605
属于绘画设备 技术介绍 目前市面上的画板大体上结构
图片尺寸925x1000
动手能力,常会使儿童在画板上进行绘画创作,目前常用的画板结构简单
图片尺寸1000x831
画板是必不可少的工具,虽然市面上的画板多种多样,但大多数都是结构
图片尺寸398x374
一种艺术画板制造技术
图片尺寸900x1000
磁性画板的制作方法
图片尺寸791x1000
美术教学用画板的制作方法
图片尺寸314x444
一种动漫设计用可调节画板的制作方法
图片尺寸1000x896
一种组合式画板的制作方法
图片尺寸1000x902
一种简易方便携带的画板的制作方法
图片尺寸787x1000
背景技术:画板在画画过程中起到重要的作用,现有画板的结构较为复杂
图片尺寸1000x609
七巧板儿童画板fb036胡桃咖色
图片尺寸750x1030
油画画板的制作方法
图片尺寸999x1000