留置针结构图

静脉留置针穿刺置管课件
图片尺寸920x690
静脉留置针操作规范全流程案例.doc
图片尺寸792x560
留置针穿刺进针回血好好的,为什么一退针芯就鼓包?
图片尺寸1080x1323
掌握儿童留置针居家护理这些干货,宝宝安全,妈妈安心
图片尺寸789x633
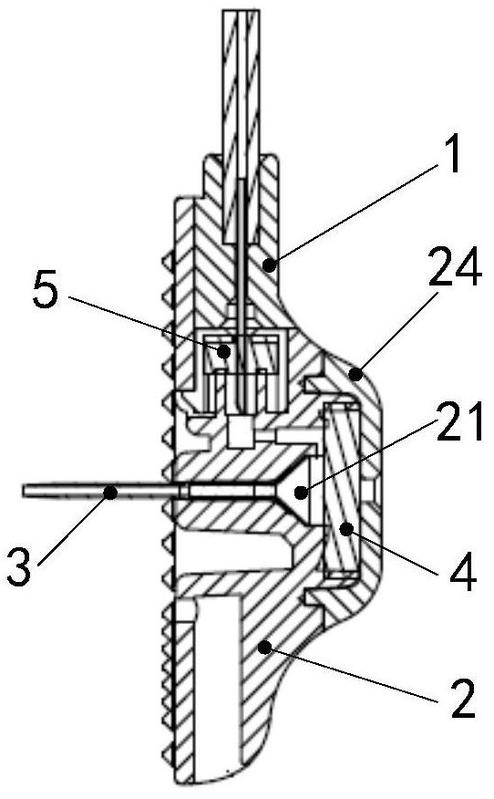
一种降低并发症发生率的留置针的制作方法
图片尺寸998x1000
静脉留置针操作规范全流程
图片尺寸920x650
一种带防回流结构的留置针的制作方法
图片尺寸400x444
一种安全型留置针的制作方法
图片尺寸643x257
新型静脉输液方式静脉留置针
图片尺寸621x401
cn208339876u_一种快速观察回血的留置针有效
图片尺寸2321x1793
背景技术:目前,传统的留置针结构单一,在使用过程中,由于光线原因
图片尺寸810x1000
不知道这些,别说自己会打留置针!
图片尺寸560x441
一种防针刺伤的留置针的制作方法
图片尺寸312x444
一种静脉留置针
图片尺寸1879x1849
一种阻菌型正压留置针-爱企查
图片尺寸614x318
一种便于采血和防血液返流的留置针的制作方法
图片尺寸447x512
护士,留置针这样固定可能有问题!
图片尺寸660x457
一种安全型静脉留置针
图片尺寸1525x968
东贝医疗医用一次性静脉留置针蝶翼型_东贝 朱氏 东贝医疗_2343242
图片尺寸790x1011
一种垂直式留置针组件及其基座结构-爱企查
图片尺寸494x799