白炽灯电路图

白炽灯无级调光电路 电路图 :如下图所示是一个实用的双向晶闸管调光
图片尺寸2116x1280
白炽灯单控电路原理图各元件的名称
图片尺寸960x544
5 白炽灯 自感现象 日光灯
图片尺寸1080x810
是正在安装的某家庭电路图,电路中有一个熔断器,一只带开关的白炽灯和
图片尺寸713x389
冷库白炽灯限流延寿电路 冷库中使用的白炽灯损坏率较高.
图片尺寸2785x1280
将两个功率相同的110v白炽灯接在220v电源上使用的电路 g9 o0 z7 k0
图片尺寸640x253
strong>白炽灯 /strong> strong>调光电路 /strong>.gif
图片尺寸640x464
一只单联开关控制一只螺丝口白炽灯电路,零线和火线都安装要求是什么?
图片尺寸417x165
希望懂得人帮忙分析下这个白炽灯调光电路图谢谢了
图片尺寸1600x1200
求画出一控一白炽灯电路的电气原理图并表明电气文字及图形符号.
图片尺寸394x443
白炽灯调光电路
图片尺寸640x464
用双开关控制电灯的电路图怎么画啊.
图片尺寸590x340
白炽灯照明线路 单联开关控制白炽灯
图片尺寸1080x810
3个白炽灯混联会不会亮
图片尺寸640x301
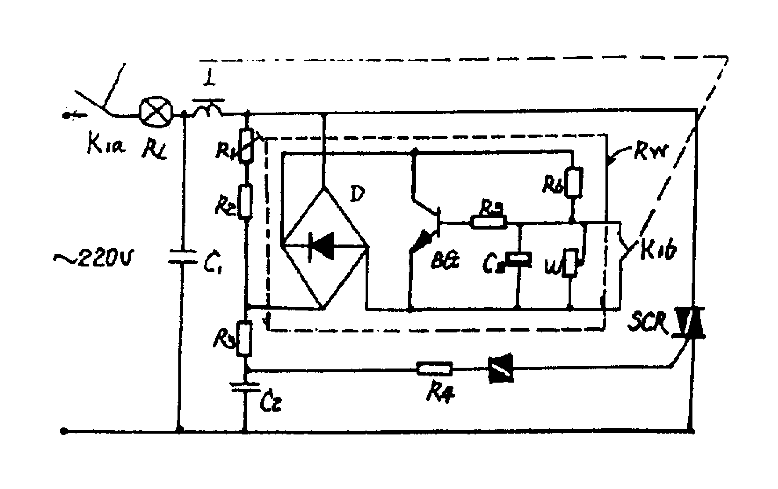
白炽灯可控硅电路请大侠们求助
图片尺寸2186x1240
某家庭用的壁灯上有两盏白炽灯 用一只开关控制器通断.
图片尺寸413x183
白炽灯亮度控制装置属电子技术的应用,本装置包括有主电路,抗干扰电路
图片尺寸2656x1668
采用晶闸管的白炽灯调光电路之四b
图片尺寸779x402
两个单刀双掷开关控制白炽灯电路图
图片尺寸389x218
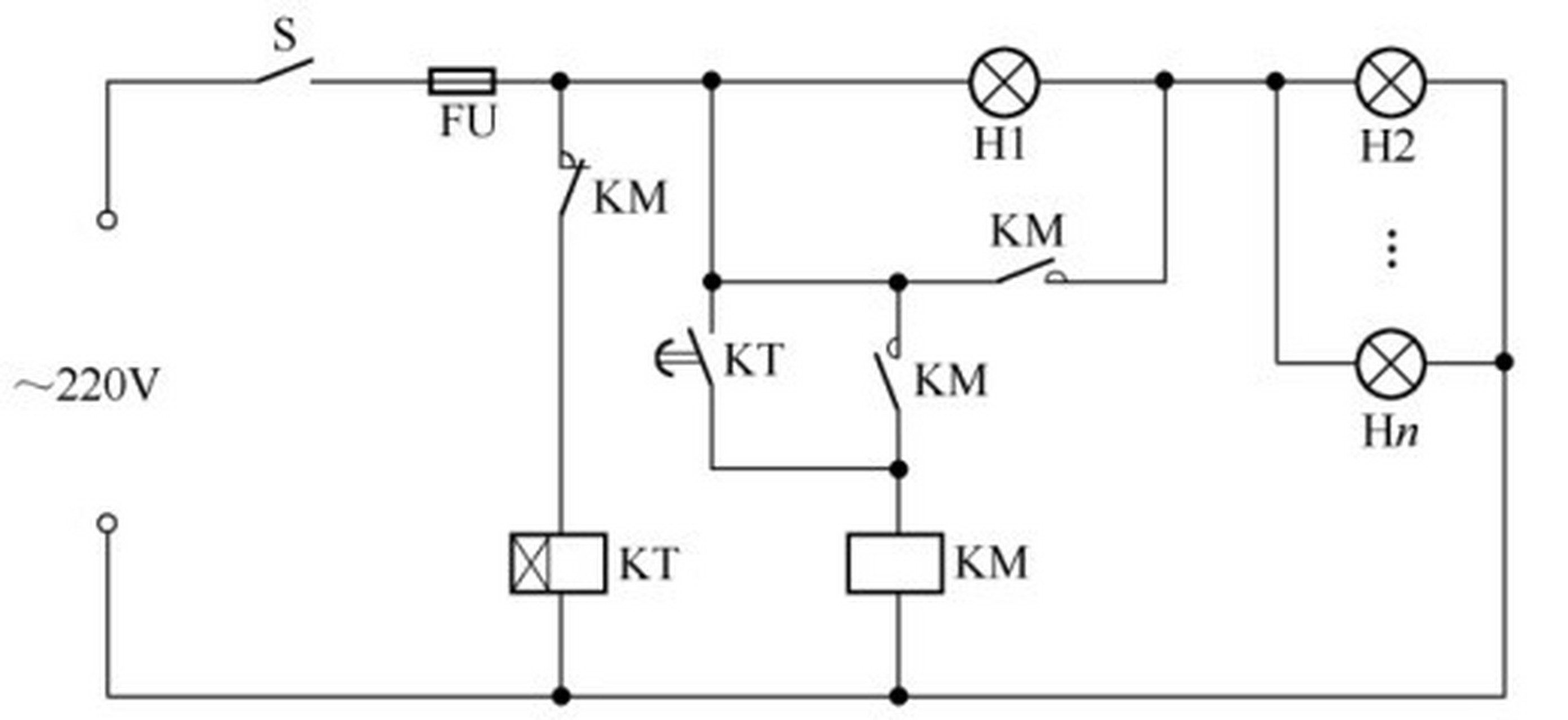
两款白炽灯软启动延寿电路图分享
图片尺寸665x429