百叶窗画法

实木平开式百叶窗安装指南
图片尺寸1276x1077
shutter百叶窗图纸
图片尺寸1080x1439
bim技术 | archicad怎么画百叶窗?
图片尺寸315x578
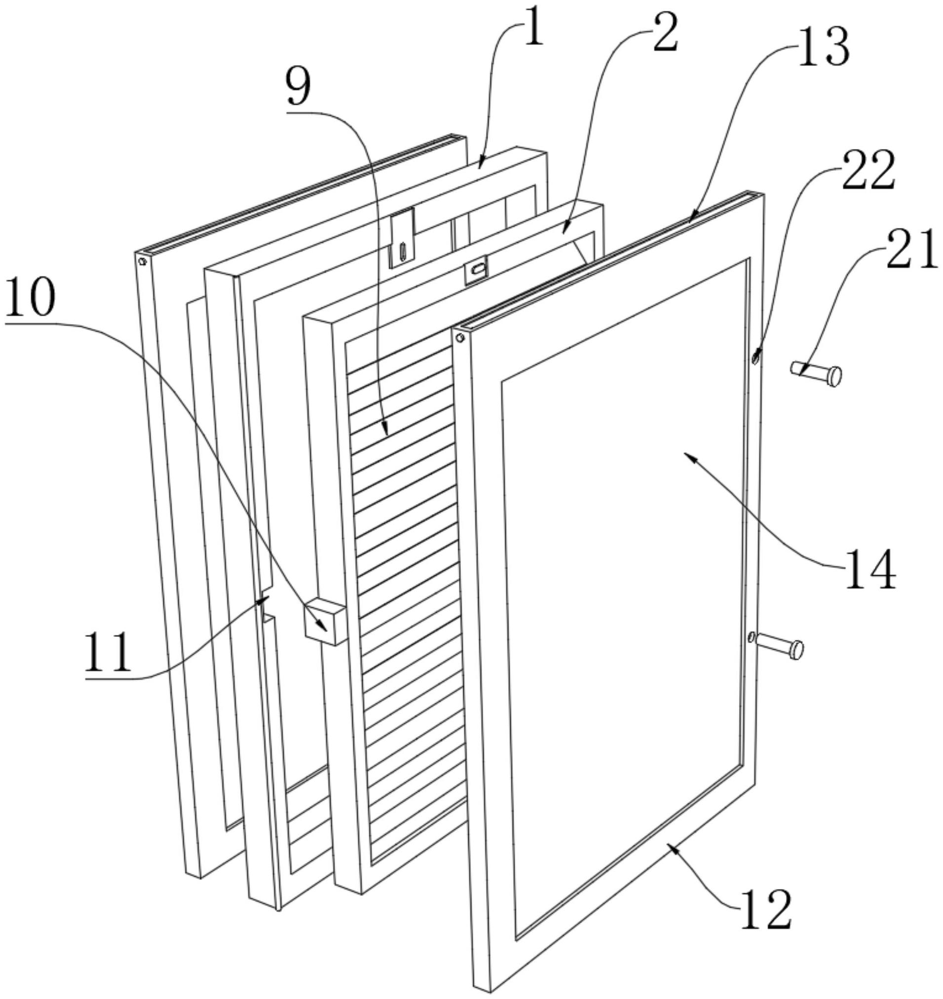
一种迂回式降噪防雨活动百叶窗
图片尺寸576x800
电动百叶窗
图片尺寸708x972
百叶窗简笔画 百叶窗画法手绘
图片尺寸500x619
一种多组合内置百叶中空玻璃百叶窗
图片尺寸1515x1354
一种多层中空玻璃百叶窗
图片尺寸2056x2276
一种可拆卸式中空玻璃百叶窗
图片尺寸1911x2025
百叶窗节点详图施工图
图片尺寸1600x1600
一种扇叶可调的百叶窗
图片尺寸1764x2055
一个带有室内百叶窗的窗户设计插图,一个浪漫的面板和一个散热器盖
图片尺寸990x1200
图片尺寸700x700
希璐可百叶窗的多种安装方法
图片尺寸1080x1444
双层防雨通风百叶窗
图片尺寸516x800
答疑:这个百叶窗要怎么布置呢 他的窗框是多少呢 麻烦圈下宽度
图片尺寸1004x797
一种防雨防砂百叶窗
图片尺寸507x799
保质供应固定型,摇摆型东莞铝合金百叶窗
图片尺寸767x1032
一种珠链驱动式双层中空玻璃内置百叶窗
图片尺寸1125x751
百叶窗的应用以及在设计图纸中的绘图方式
图片尺寸500x666