皮带扣原理

5cm皮带扣头 s39扣头 logo
图片尺寸790x1123
一种皮带扣的制作方法
图片尺寸1000x707
一种眼镜蛇插扣制造技术
图片尺寸1000x557
一种自动皮带扣-爱企查
图片尺寸934x906
安全带装置的带扣的制作方法
图片尺寸775x1000
cn2370707y_新型皮带扣失效
图片尺寸952x933
皮带,弹性皮带扣以及对应配合弹性皮带扣的带身的制作方法
图片尺寸1000x742
一种具有任意长短固定的皮带扣的皮带的制作方法
图片尺寸444x308
cn200969922y_按压式皮带扣失效
图片尺寸1400x516
一种新型皮带扣的制作方法
图片尺寸1000x502
史蒂芬算盘子扣男士皮带腰带 - 抖音
图片尺寸800x587
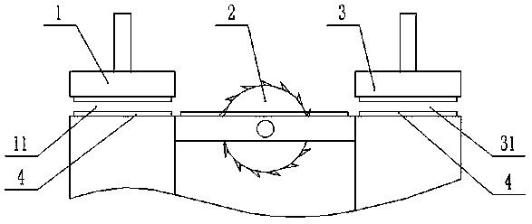
一种皮带扣加工装置-爱企查
图片尺寸587x248
现货全铜铆钉扣双面凉鞋钉扣衣服皮具皮带金属装饰配件帽钉固定子母扣
图片尺寸790x945
cn1066912a_输送带的圆钢皮带扣失效
图片尺寸1888x1223
本文将详细介绍皮带传动的原理,结构和工作特点,并
图片尺寸640x627
雅致有型,展现雄风~|皮带扣_新浪财经_新浪网
图片尺寸446x291
带身同色男士皮带.这条带子真的很好用!自动扣设计很方便,而且 - 抖音
图片尺寸800x800
94.我的卡帝乐牛皮自动扣男士皮带 - 抖音
图片尺寸1020x1360
皮带扣及皮带结构的制作方法
图片尺寸1000x641
让你瞬间提升优雅指数!铂士顿皮带78.
图片尺寸1341x1788