皮带秤结构

单托辊皮带秤 电厂输送计量秤 贸易计量结算 方便高效 金宏称重
图片尺寸750x1323
河南皮带秤的4种秤架结构解析
图片尺寸759x1033
高精度电子皮带秤
图片尺寸2656x1725
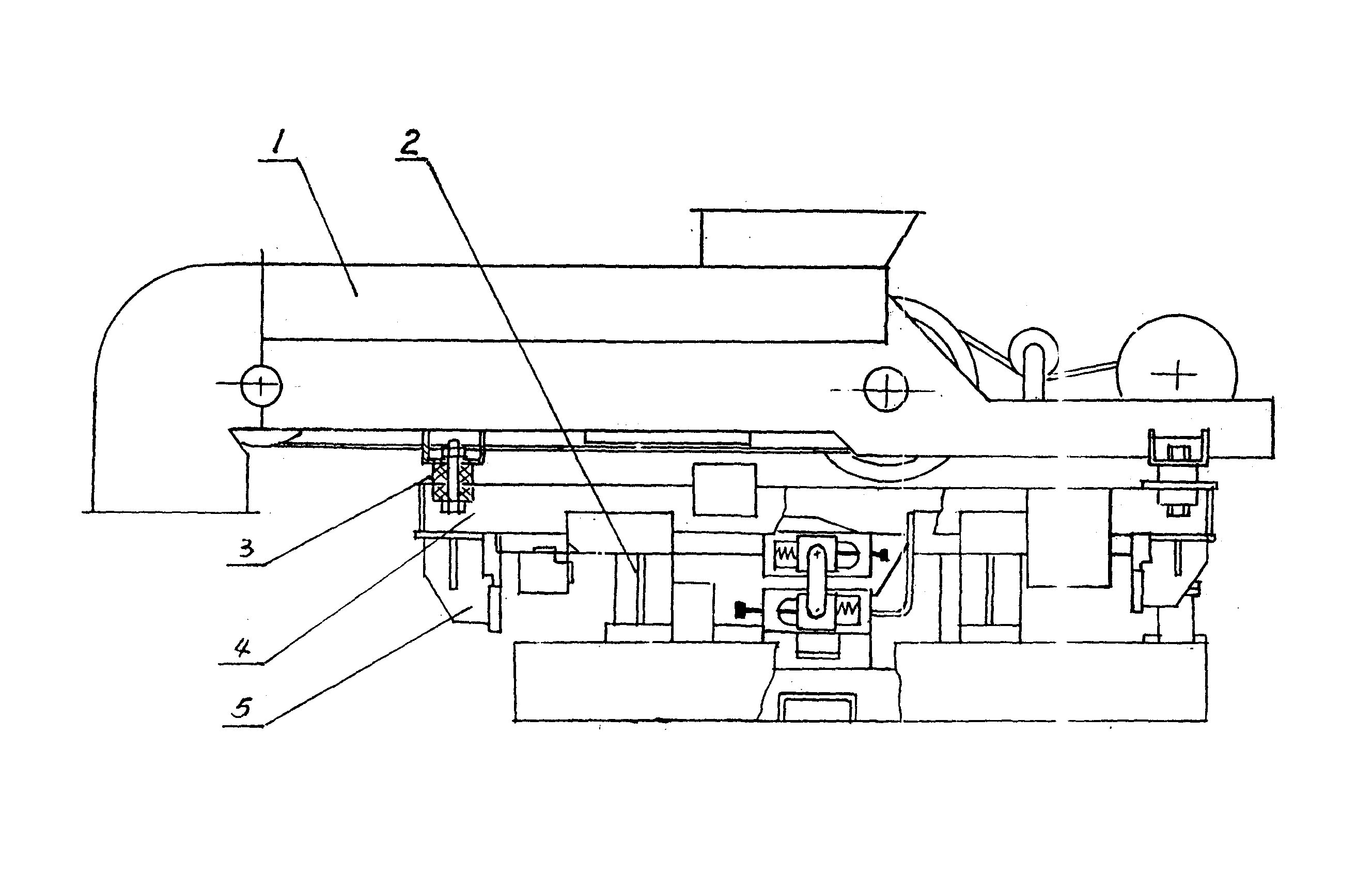
图1皮带秤结构示意
图片尺寸750x436
电子皮带秤的工作原理,技术参数及未来发展趋势概述
图片尺寸650x433
方原柏定量皮带秤知识讲座
图片尺寸852x381
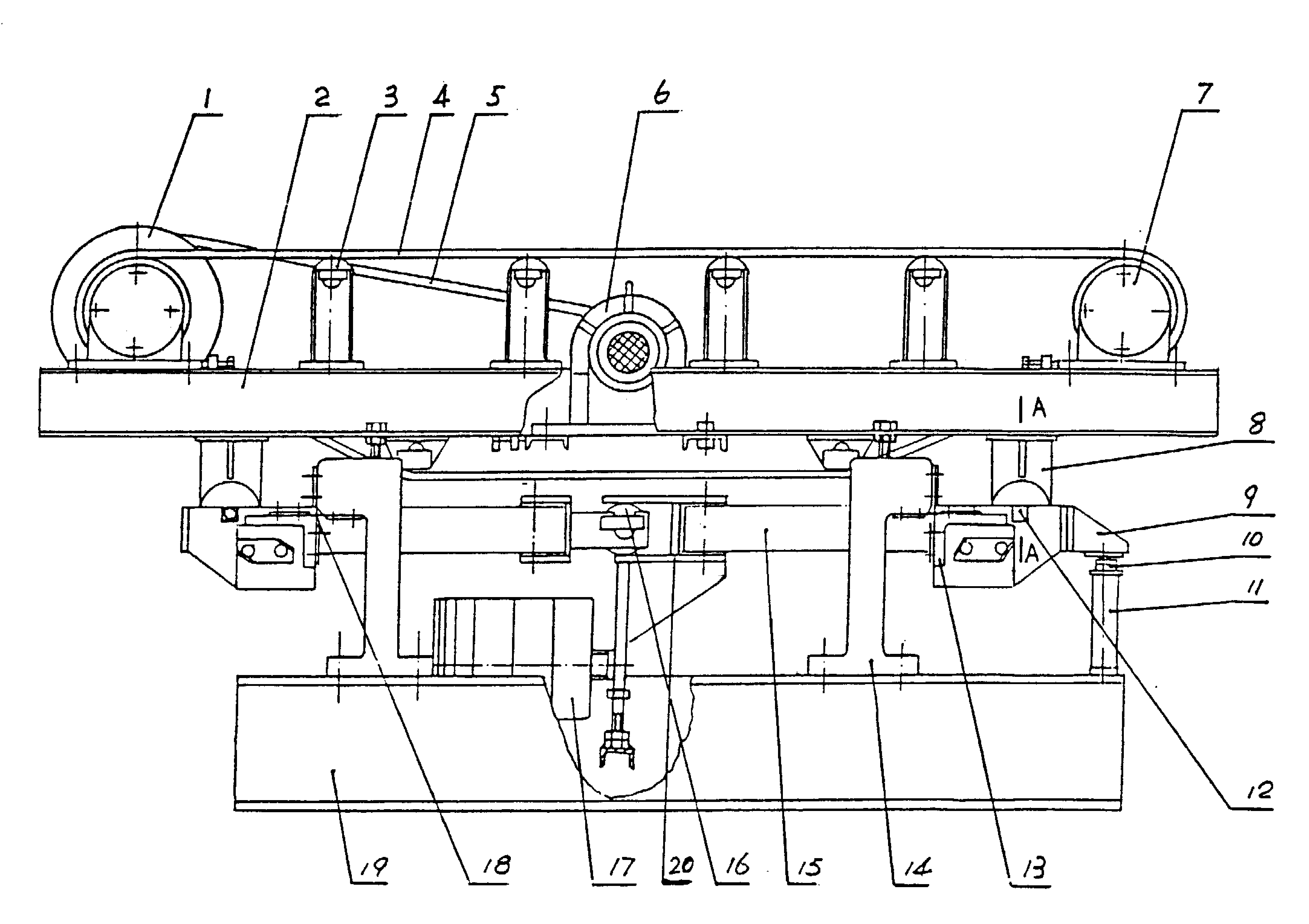
电子皮带秤的4种秤架结构详解
图片尺寸832x1114
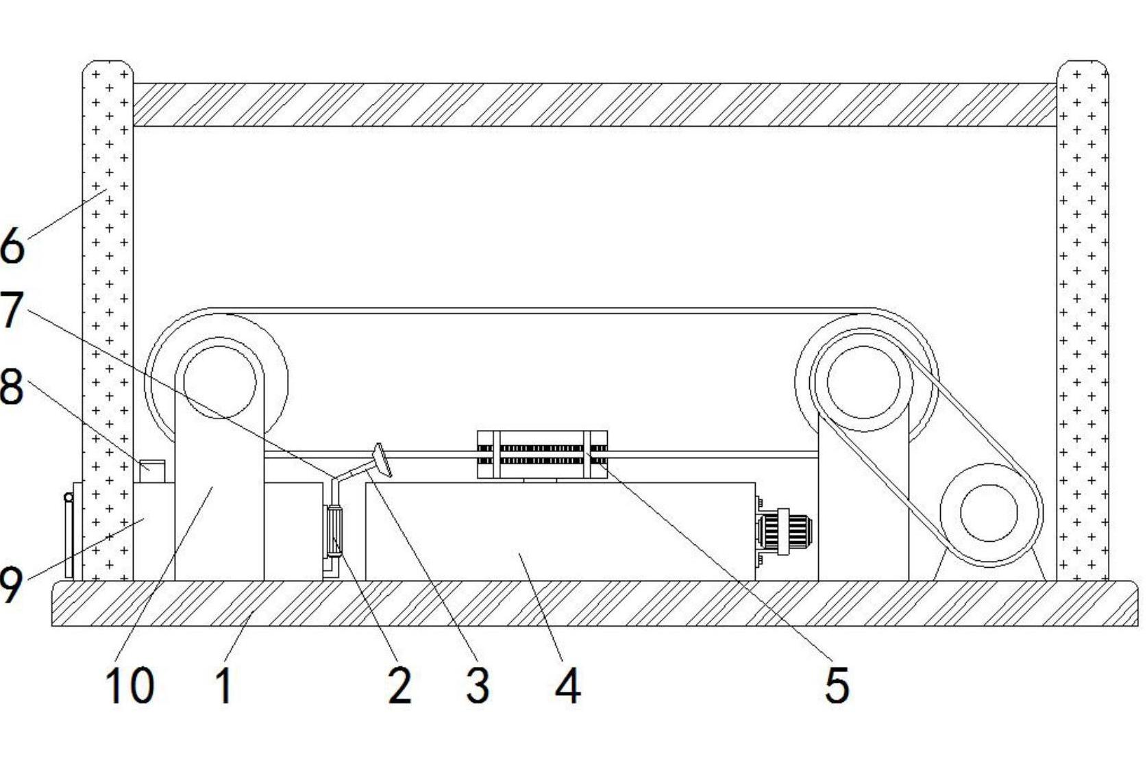
一种高精度皮带称重装置
图片尺寸1674x1117
山东领锐厂家直销皮带秤
图片尺寸1400x932
皮带秤的奥秘:从工作原理到应用领域
图片尺寸742x500
一种自由浮动式皮带称重装置
图片尺寸1214x856
一种连续计量电子皮带秤
图片尺寸2680x1880
电子皮带秤具有结构简单,称量准确,使用稳定,操作方便,维护量少等优点
图片尺寸869x1000
一种双悬臂电子皮带秤
图片尺寸6496x4587
电子皮带秤的秤架结构及其应用场景
图片尺寸816x1126
电子皮带秤:不同秤架结构的优缺点
图片尺寸720x999
系列电子皮带秤 采用单托辊积木式计量结构,多点
图片尺寸1500x1000
甘肃庆阳定量包装秤厂家
图片尺寸873x640
电子皮带秤:不同结构大比拼
图片尺寸720x999
勤酬 皮带秤自动计量电子配料秤电子称重皮带秤
图片尺寸800x800