皮碗密封装配图

一种皮碗密封结构的制作方法
图片尺寸559x1000
一种便于密封皮碗拆装的结构的制作方法
图片尺寸974x1000
皮碗装配工装的制作方法
图片尺寸1000x742
l型皮碗 气缸活塞密封圈
图片尺寸750x387
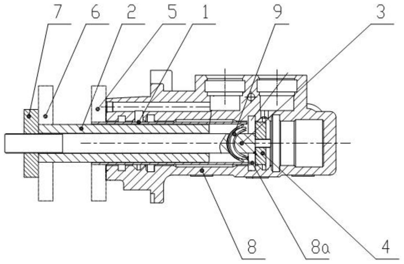
包括套接在密封滑环上的橡胶皮碗,橡胶皮碗上方螺纹连接有皮碗压帽,其
图片尺寸803x1000
皮碗密封结构泄漏问题和改进设计
图片尺寸825x506
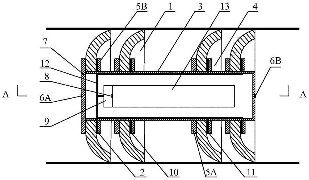
在装配预紧力的作用下,通过碗形件的磨损产生弹性变形来实现密封
图片尺寸345x314
柱塞主缸皮碗装配工装-爱企查
图片尺寸1738x693
一种新型皮碗封隔器
图片尺寸598x235
柱塞泵缸体皮碗装配装置及装配方法制造方法及图纸
图片尺寸429x1000
一种柱塞式制动主缸的密封皮碗装配工具及其使用方法
图片尺寸1289x843
本发明属于齿轮泵封严皮碗组件拆卸,装配工装设计技术领域,涉及在不
图片尺寸1000x775
基于形状记忆聚合物密封皮碗的自解堵管道清管器的制作方法
图片尺寸1000x584
基于形状记忆聚合物密封皮碗的自解堵管道清管器
图片尺寸1000x584
皮碗自动装配机
图片尺寸679x640
托辊密封件型号
图片尺寸790x790
草帽防尘,l皮碗防尘 - fseals (中国 江苏省 贸易商) - 密封材料和
图片尺寸500x239
一种用于汽车用皮碗装配工装的制作方法
图片尺寸440x443
部件装配的技术领域,尤其是涉及一种柱塞泵皮碗安装装置及其使用方法
图片尺寸800x644
一种柱塞主缸皮碗装配工装的制作方法
图片尺寸1000x398