益光园园主

巧手塑绿意闪耀她力量
图片尺寸1080x1254
巧手塑绿意闪耀她力量
图片尺寸1080x988
北极星太阳能光伏网
图片尺寸750x548
篆刻魅力在于书法与金石的碰撞,实用与观赏的结合
图片尺寸640x674
虢叔被郭姓族人奉为受姓始祖_山西_大槐树_姓氏
图片尺寸657x379
巧手塑绿意闪耀她力量
图片尺寸1080x1117
口教师何清远传度门徒陈益光,当日心传口授占针定线,陈益光当凭保主师
图片尺寸1200x1600
巧手塑绿意闪耀她力量
图片尺寸1080x1073
口教师何清远传度门徒陈益光,当日心传口授占针定线,陈益光当凭保主师
图片尺寸1200x900
口教师何清远传度门徒陈益光,当日心传口授占针定线,陈益光当凭保主师
图片尺寸1200x900
虢叔被郭姓族人奉为受姓始祖_山西_大槐树_姓氏
图片尺寸817x670
巧手塑绿意闪耀她力量
图片尺寸1080x872
佛山市区
图片尺寸720x480
净利同比增超50%;易事特被强制执行2685万;美的集团
图片尺寸1080x720
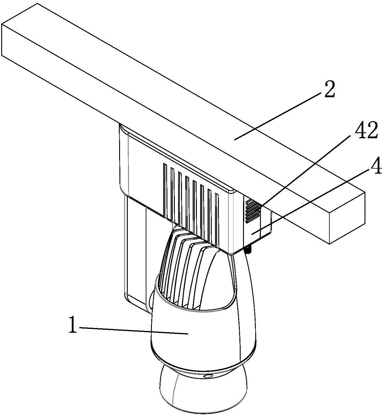
专利详情
图片尺寸1286x1399
丁昕作品▲"疏林秀水"虎刺丛林盆景丁昕作品邱似梦邱似梦,益光园园主
图片尺寸1080x645
吕兴红,江苏省如皋市乐艺园园主,中国盆景风景园林协会理事,中国盆景
图片尺寸1080x744
大品牌进行合作,同时服务于中信太和,赛兔,益光等手机生产加工型企业
图片尺寸530x353
目前已成为是中国华南沿海主枢纽港,中国沿海主要港口之一.
图片尺寸640x404
百分百满意绝缘胶板品质优先a9益光绝缘胶板型号规格
图片尺寸720x960