监测井示意图

看穿黑暗的眼睛——地球物理测井 - 知乎
图片尺寸454x461
图1监测井示意图6,监测井建成后,需要清洗监测井,以除去细颗粒物质
图片尺寸541x623
图 1 3种类型的土壤气监测井
图片尺寸1575x1654
监测井设置维护
图片尺寸530x950
监测井
图片尺寸966x1200
适用于污染场地的自动化多参数地下水环境分层监测井的制作方法
图片尺寸780x1000
地下水位监测如何进行
图片尺寸611x419
地下水自流监测井的监测方法与流程
图片尺寸626x939
一种滤水管,地下水监测井装置的制作方法
图片尺寸1000x955
一种用于垃圾填埋场的地下水监测井的制作方法
图片尺寸602x1000
标准监测井示意图标准监测井的意义1.
图片尺寸1011x658
cn110905403a_一种大口径地下水环境监测井的施工方法
图片尺寸1285x1221
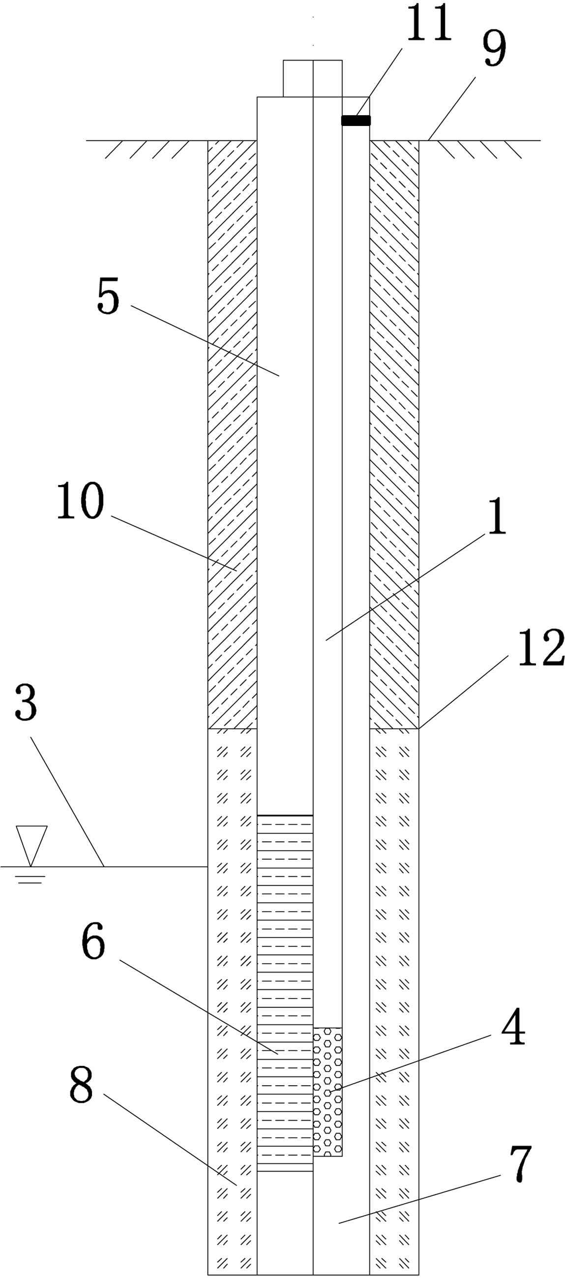
一种地下水监测井
图片尺寸1149x2598
双源距补偿中子测井
图片尺寸524x510
地下水监测实施方案一体化遥测三参量水位计看完这个再做决定
图片尺寸1305x848
一种双含水层监测井装置及其建设方法
图片尺寸1448x2189
4. "测井深度"vs "测井资料"
图片尺寸588x829
守护安全,探测无痕:智能阀井远程监测仪
图片尺寸841x631
一种prb墙内地下水监测井的建井方法
图片尺寸470x550
cn110144993a_一种滤水管,地下水监测井装置及施工方法在审
图片尺寸1000x955