盖子结构

一种按压式开关盖结构的盖子的制作方法
图片尺寸842x1000
总经理助理包装在介绍对饮料瓶用塑料防盗瓶盖的种类和典型结构的基础
图片尺寸1000x313
cn1825665a_电池盖结构失效
图片尺寸2251x1934
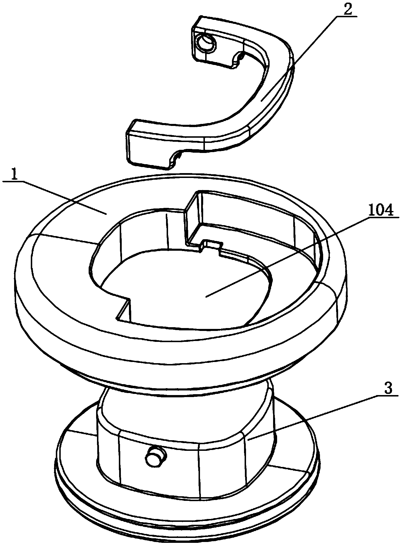
一种固定厚重电池的电池盖结构
图片尺寸1783x1781
一种自动弹开式组合盖
图片尺寸1436x1752
一种保温杯杯盖结构的制作方法
图片尺寸708x1000
cn201109558y_瓶子盖合结构失效
图片尺寸1792x2509
一种防护性能好的包装瓶用卡扣式塑料盖结构
图片尺寸1741x1933
尤其涉及容器盖子及组件,具体涉及一种瓶盖结构
图片尺寸1000x552
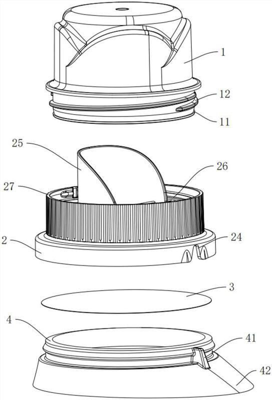
cn209661152u_一种具有锁固及防误开功能的盖子结构
图片尺寸1000x908
专利详情
图片尺寸1372x1067
一种新型公路井盖结构
图片尺寸1000x832
正文 本技术的目的在于解决现有中的问题,提供一种窨井盖,其结构简单
图片尺寸992x1000
转动式密封瓶盖结构
图片尺寸1397x1899
结构在储运过程中,会随着螺纹的回退,收缩,盖子与瓶子的挤压变形等
图片尺寸543x800
cn201091494y_一种电压力锅锅盖失效
图片尺寸1984x2429
cn207434105u_一种酱油瓶盖结构有效
图片尺寸1316x1706
一种瓶盖的制作方法
图片尺寸1000x793
一种电池盖板结构的制作方法
图片尺寸1000x919
一种后置开启塑料盖制造技术
图片尺寸1000x926