盖碗剪影

盖碗-线条
图片尺寸388x346
矢量平中国茶盖碗插图 ico照片
图片尺寸300x300
盖碗
图片尺寸438x534
手绘陶瓷特大号盖碗三才碗 青瓷大号茶杯泡茶器功夫茶道茶具
图片尺寸750x545
碗筷黑色剪影
图片尺寸260x260
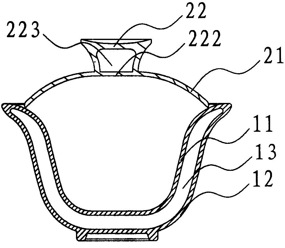
隔热盖碗
图片尺寸919x800
手绘茶盖碗免抠元素
图片尺寸780x780
盖碗
图片尺寸388x346
黑色餐具剪影免抠png透明图层素材
图片尺寸960x1553
碗图标
图片尺寸512x512
外观设计盖碗(2) 申请号:cn202130439336.9 申请公布号:cn306919787s
图片尺寸1003x824
手画的厨师图片
图片尺寸350x300
中国盖碗 盖碗 矢量素材
图片尺寸294x259
带汤的碗的剪影向量例证.餐饮媒介标志为餐馆
图片尺寸700x700
盖碗
图片尺寸408x277
盘子和碗剪影集
图片尺寸700x700
陶瓷盖碗(玄月k)
图片尺寸556x561
空碗图标
图片尺寸512x512
厨房用品剪影
图片尺寸610x260
一碗面剪影
图片尺寸700x925