盘式制动器简图

原创:在盘式制动器的设计过程中,应该考虑与整车其他系统的集成_搜狐
图片尺寸924x552
一种空压多盘式制动器-爱企查
图片尺寸1664x1504
盘式制动器可分为钳盘式和全盘式,两者之间区别是什么?
图片尺寸660x463
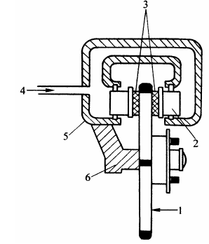
盘式制动器结构简图
图片尺寸700x556
盘式制动器图纸#盘式制动器#制动器#圆锥破碎机 #破碎机 # - 抖音
图片尺寸873x521
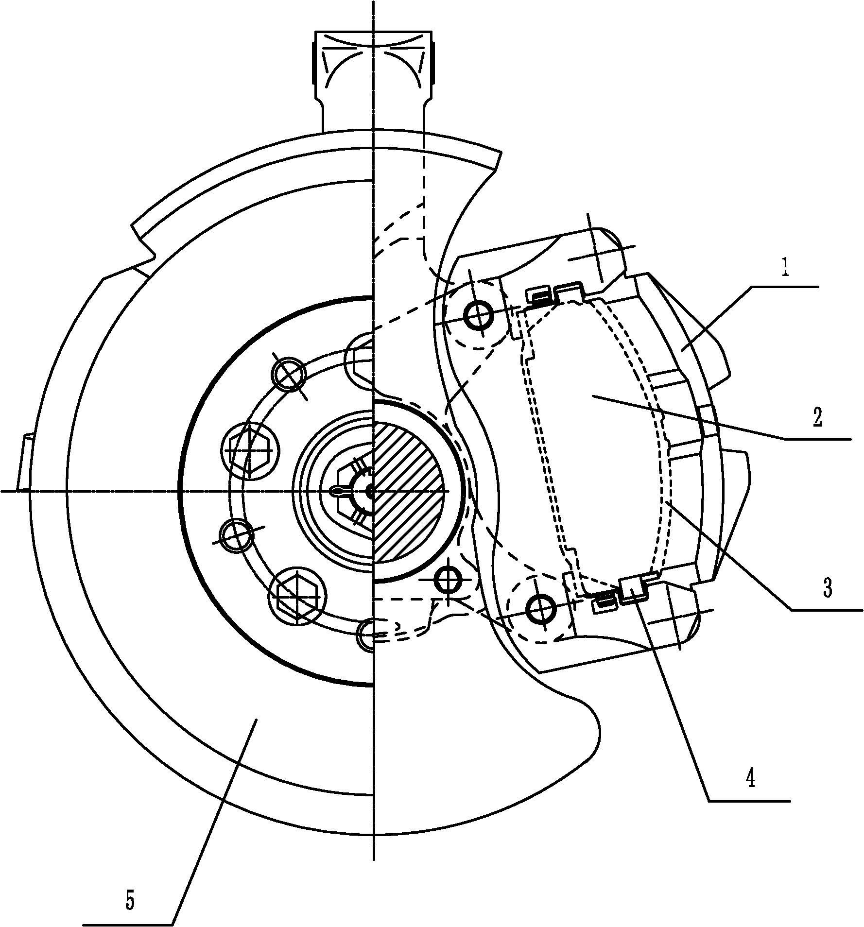
转向节盘式制动器总成
图片尺寸1778x1908
射击制动复古雕刻多连杆前悬架,带制动器.
图片尺寸281x300
一种新能源商用车盘式制动器的制作方法
图片尺寸1000x834
1 负责让汽车停止的制动器的结构
图片尺寸700x438
盘式制动器的制作方法
图片尺寸1000x1000
求一商用车盘式制动器的cad制图,最好有设计说明,救命啊
图片尺寸486x601
一种汽车制动系统用盘式制动器的制作方法
图片尺寸962x1000
cn101571169b_一种盘式制动器有效
图片尺寸1706x1360
四轮大尺寸盘式制动器
图片尺寸630x458
钳盘式制动器
图片尺寸305x314
cn112124486a_自行车盘式制动器制动盘
图片尺寸2056x1832
钳盘式制动器
图片尺寸298x348
cn1189372c_盘式制动器失效
图片尺寸410x709
cn1936356a_具有驻车功能的盘式制动器失效
图片尺寸1661x1535
捷达汽车浮动钳盘式制动器设计
图片尺寸1728x1080