盘根盒结构图

全位调偏盘根盒结构
图片尺寸441x248
一种节能型抽油机井实用盘根盒的研制-密封材料-河北奥赛罗密封材料
图片尺寸468x505
cn201351474y_复式多功能盘根盒失效
图片尺寸800x1490
可选式多功能组合盘根盒制造技术
图片尺寸556x1000
普通盘根盒示意图
图片尺寸495x492
cn2408234y_抽油井井口多功能防盗盘根盒失效
图片尺寸780x955
cn101963050a_一种基于抽油杆偏斜的防偏磨密封盘根盒失效
图片尺寸1388x2000
抽油机井口多功能盘根盒的研制与应用
图片尺寸572x365
可更换光杆热采盘根盒的制作方法
图片尺寸467x1000
一种瓣式可旋转尼扶井口盘根盒及其使用方法
图片尺寸986x1713
cn108843268a_可更换光杆热采盘根盒在审
图片尺寸506x1088
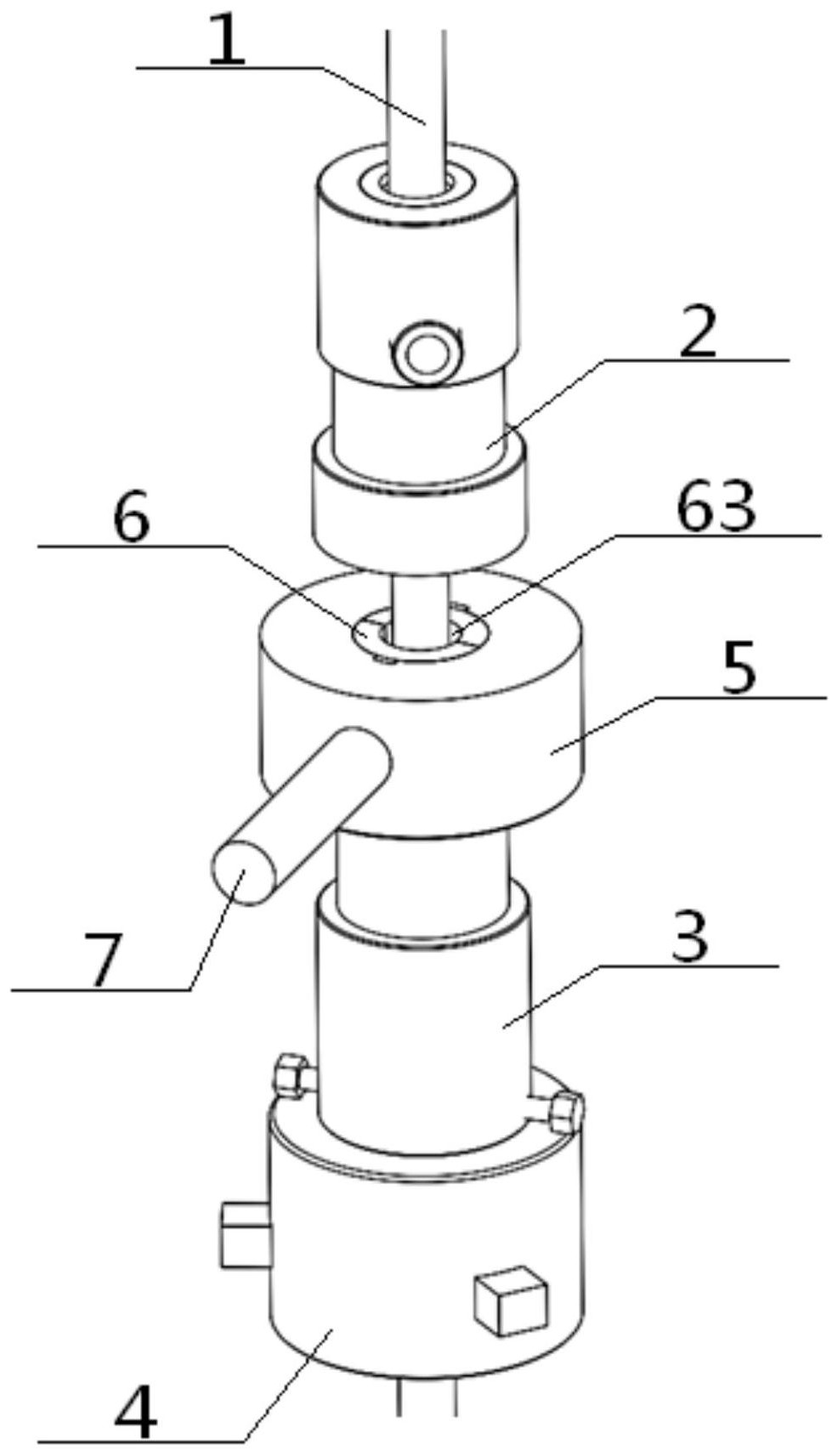
复式多功能盘根盒
图片尺寸917x1709
一种井口分级密封保养盘根盒的制作方法
图片尺寸520x1000
一种抽油井用密封防偏磨盘根盒
图片尺寸760x1610
cn202706973u_长效节能盘根盒失效
图片尺寸1000x800
泥浆泵盘根盒失效分析及结构改进
图片尺寸368x375
cn213175577u_一种用于大直径光杆扶正的油井盘根盒
图片尺寸1237x2222
一种盘根盒的制作方法
图片尺寸986x1000
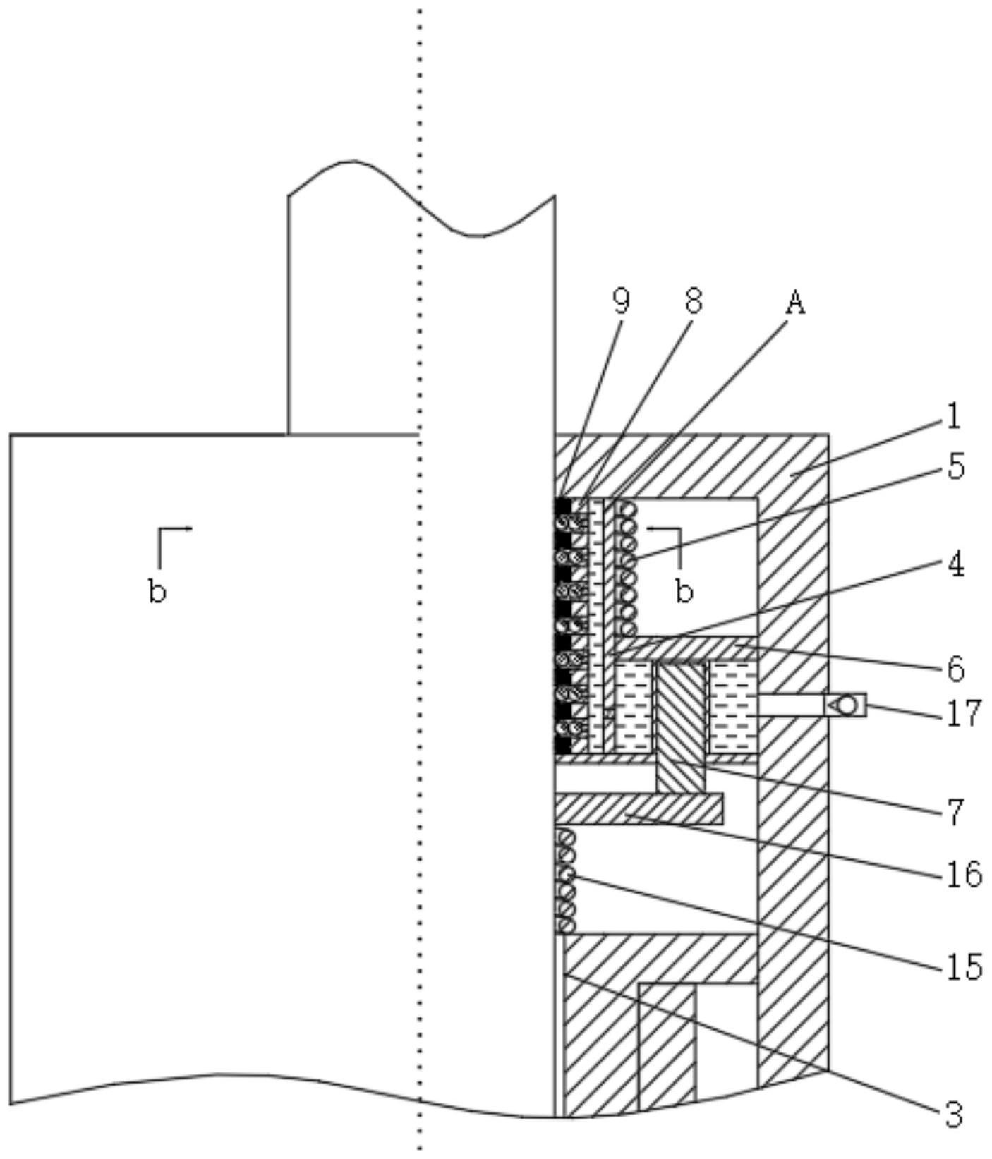
一种用于石油开采的盘根盒
图片尺寸1406x1643
背景技术:目前,油田井口盘根盒有很多结构形式,但盘根的压紧都是靠
图片尺寸994x1000