盘根结构图

tyr25 -28盘根示意
图片尺寸468x505
可更换光杆热采盘根盒的制作方法
图片尺寸467x1000
柱塞泵的串联式盘根
图片尺寸630x389
全位调偏盘根盒结构
图片尺寸441x248
自动全调心套装套取式盘根盒
图片尺寸779x1000
自动调心式盘根盒制造技术
图片尺寸745x1000
抽油机井口多功能盘根盒的研制与应用
图片尺寸572x365
石墨盘根在零号井泵站应用的试验总结
图片尺寸442x404
a3-盘根总成.dwg
图片尺寸1131x800
本发明涉及石油机械,具体涉及一种用于抽油机井口盘根结构的改进.
图片尺寸994x1000
一种盘根盒的制作方法
图片尺寸986x1000
盘根组件图
图片尺寸583x405
一种新型多功能双翼防脱防跑油盘根盒制造技术
图片尺寸854x1000
cn2408234y_抽油井井口多功能防盗盘根盒失效
图片尺寸780x955
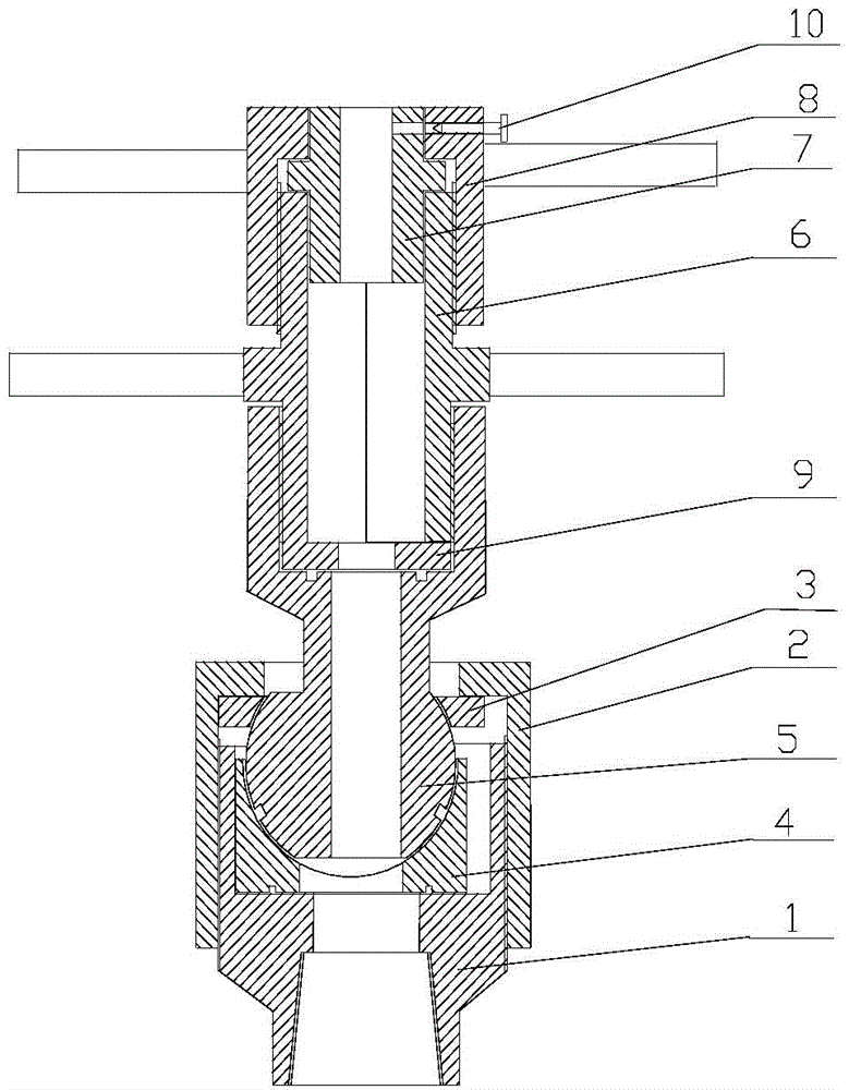
一种闸阀密封盘根装配结构的制作方法
图片尺寸657x787
一种井口盘根盒内部保养装置
图片尺寸1018x1175
图2 盘根密封原理结构图
图片尺寸340x393
盘根及密封结构的制作方法
图片尺寸1000x679
cn101963050a_一种基于抽油杆偏斜的防偏磨密封盘根盒失效
图片尺寸1388x2000
一种闸阀密封盘根装配结构的制作方法
图片尺寸684x787