直喷阀门结构

直动式溢流阀你了解多少?
图片尺寸540x806
cng多点直喷brc减压阀 减压器油改气汽车天然气cng燃气改装配件
图片尺寸750x600
p系列直通单座调节阀
图片尺寸946x1176
dg02直动式溢流阀
图片尺寸4960x3507
1. 发明缸内直喷电磁阀式喷射器实审我要购买申请号:cn202110175849.
图片尺寸400x652
直动式溢流阀结构
图片尺寸920x690
费希尔阀门培训ppt
图片尺寸1080x810
cng多点直喷减压阀 托马赛特减压器 汽车天然气cng燃气改装配件
图片尺寸800x800
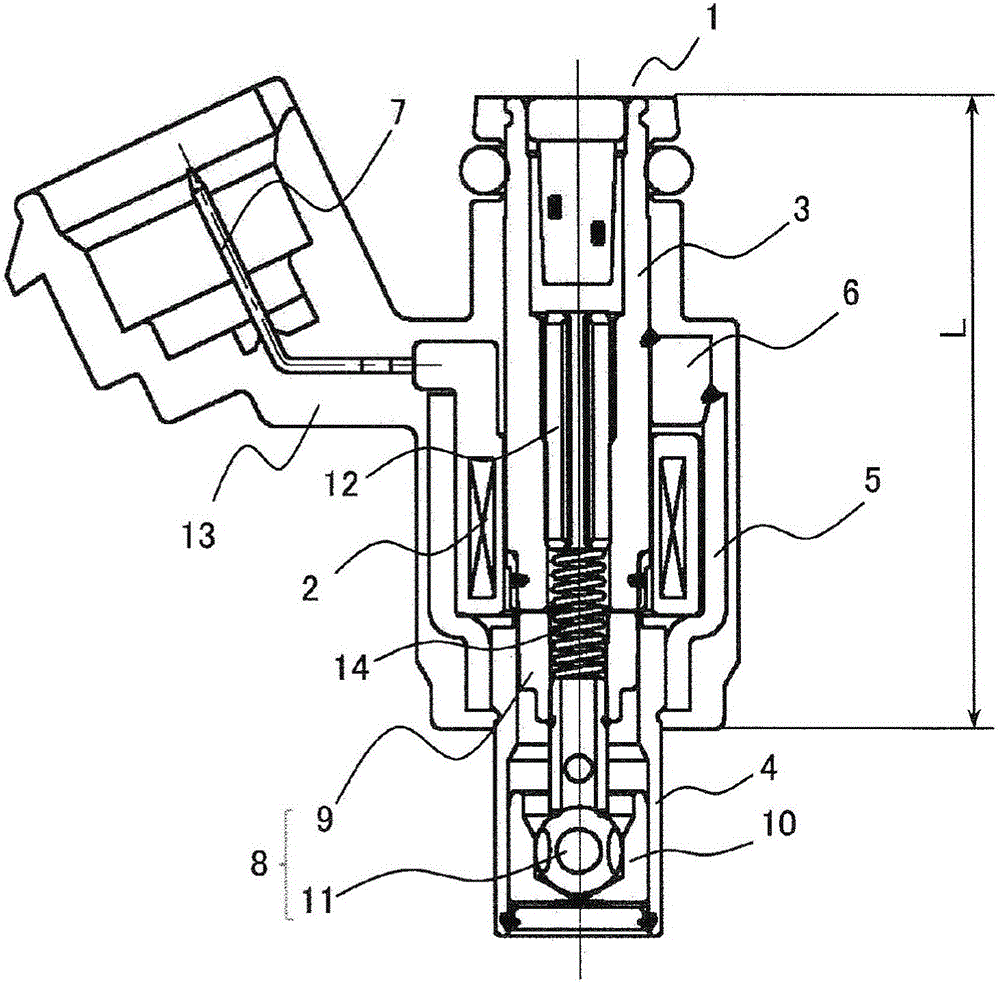
燃料喷射阀以及燃料喷射阀的制造方法
图片尺寸1000x984
溢流阀的基本结构及其工作原理.doc
图片尺寸800x1132
rv08-20 直动式溢流阀 15l/min
图片尺寸1207x789
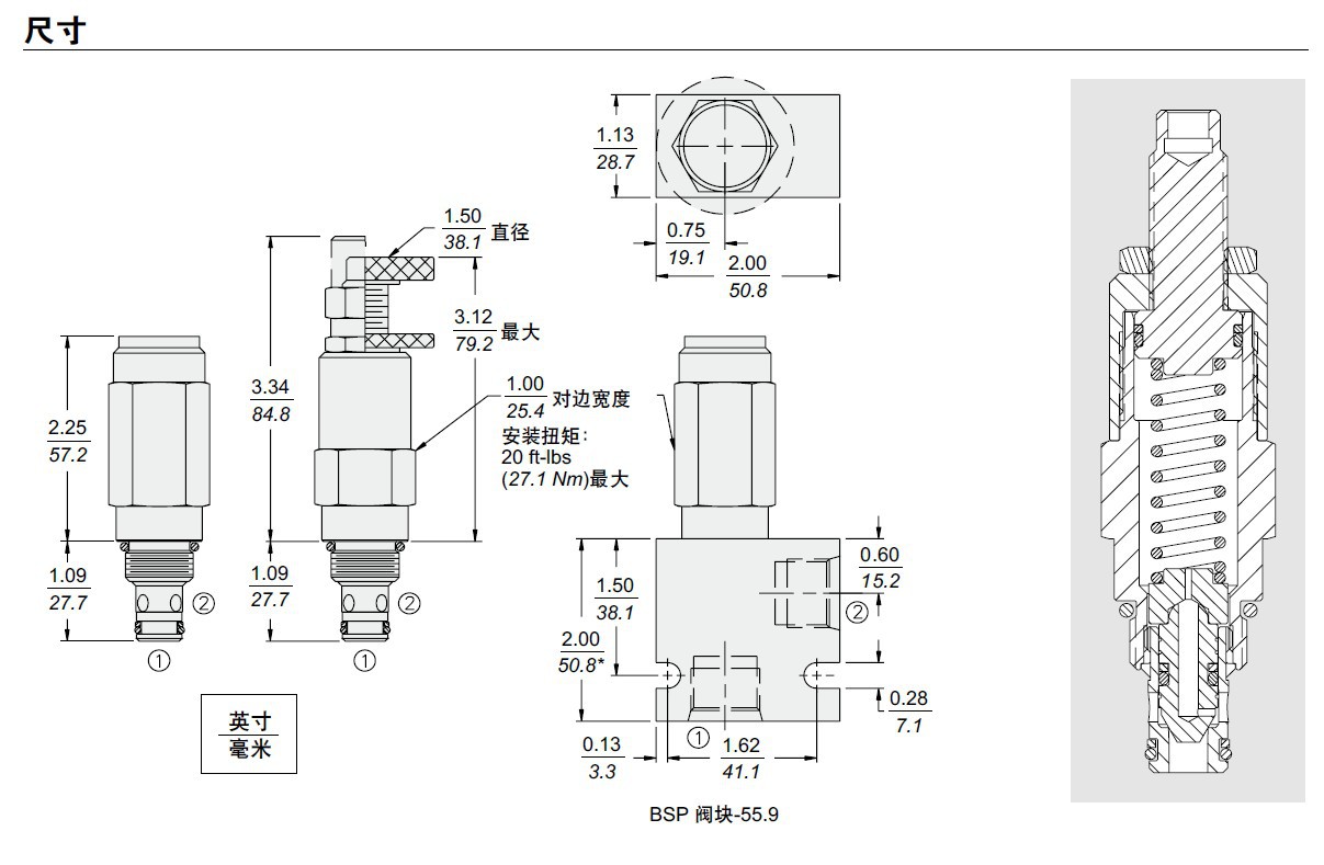
阀/接头 浙江衬氟直流阀 设计与制造:gb12235 结构长度
图片尺寸404x412
gc400多段式阀芯型直通调节阀
图片尺寸1359x970
image
图片尺寸1000x559
阀门zxp16
图片尺寸579x580
怎么看待有些人靠催吐来维持身材
图片尺寸597x424
周的博客
图片尺寸500x350
如图所示为滑阀型直动式溢流阀的结构,该阀由滑阀阀芯7,阀体6,调压
图片尺寸640x999
cn201909074u_一种带阻尼活塞的直动式水压溢流阀失效
图片尺寸1513x891
="#" data-lemmaid="7121935">自动喷水灭火系统 /a>中的一种控制阀门
图片尺寸928x614