直流电源示意图

直流电源设计
图片尺寸884x547
220/12直流降压包能干甚?只有线圈啥也没有
图片尺寸1222x586
虎啸 朋友要的wyj-6a 直流稳压电源图纸
图片尺寸2000x1612
可调直流稳压电源电路(a题)
图片尺寸630x226
直流稳压电源电路原理图
图片尺寸980x537
求一个直流线性电源电路
图片尺寸808x499
电源系统供电原理是:当市电正常时,机器会将市电的交流电转换为直流电
图片尺寸964x470
图1 -48 v直流开关电源系统图
图片尺寸621x282
固定直流稳压电源三
图片尺寸1752x837
cn101282090a_电容分压型直流稳压电源失效
图片尺寸1672x833
一种高精度的恒功率直流电源
图片尺寸1884x1059
标准的正负高压直流电源设计
图片尺寸640x342
直流开关电源工作原理有哪些?
图片尺寸396x308
直流稳压电源设计原理图,元件清单
图片尺寸1374x428
电源
图片尺寸1017x1438
带充电功能的可调直流稳压电源
图片尺寸1004x395
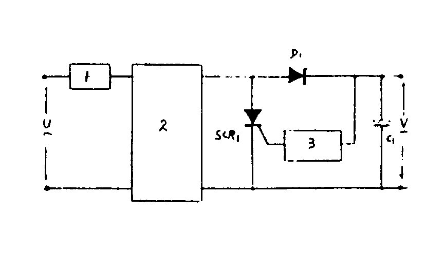
可控硅并联调节式直流稳压电源
图片尺寸864x528
5v直流电源原理图
图片尺寸700x531
艾德克斯it6500直流电源系列针对汽车电子稳定性测试的解决方案
图片尺寸486x303
集成直流稳压电源设计报告什么是直流稳压电源直流稳压电源的分类及
图片尺寸395x363