直流矿热炉

直流矿热炉
图片尺寸186x186
新型节能直流矿热炉
图片尺寸800x600
直流矿热炉
图片尺寸800x600
电弧炉,直流电弧炉,矿热炉,直流矿热炉-资讯动态 - 安阳优能德电气
图片尺寸800x600
实验直流矿热炉
图片尺寸1152x2048
矿热炉
图片尺寸800x533
直流矿热炉
图片尺寸1080x676
世界领先的铁合金直流矿热炉技术madein黔西南
图片尺寸640x427
西安矿热炉厂家-大容量矿热炉直流电源设计需要注意的重点事项
图片尺寸700x700
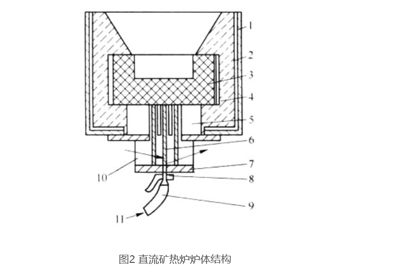
直流矿热炉的结构特征
图片尺寸824x527
直流矿热炉的结构特征
图片尺寸640x258
矿热炉
图片尺寸600x450
电弧炉,直流电弧炉,矿热炉,直流矿热炉-安阳优能德电气有限公司
图片尺寸225x300
电弧炉,直流电弧炉,矿热炉,直流矿热炉-安阳优能德电气有限公司
图片尺寸225x300
电弧炉,直流电弧炉,矿热炉,直流矿热炉-安阳优能德电气有限公司
图片尺寸225x300
新型节能直流矿热炉
图片尺寸800x600
直流矿热炉
图片尺寸186x186
直流矿热炉
图片尺寸800x500
世界领先的铁合金直流矿热炉技术madein黔西南
图片尺寸640x427
800kva直流矿热炉
图片尺寸690x460