直线加速器结构

放射治疗设备之医用电子直线加速器
图片尺寸640x471
电子直线加速器
图片尺寸685x575
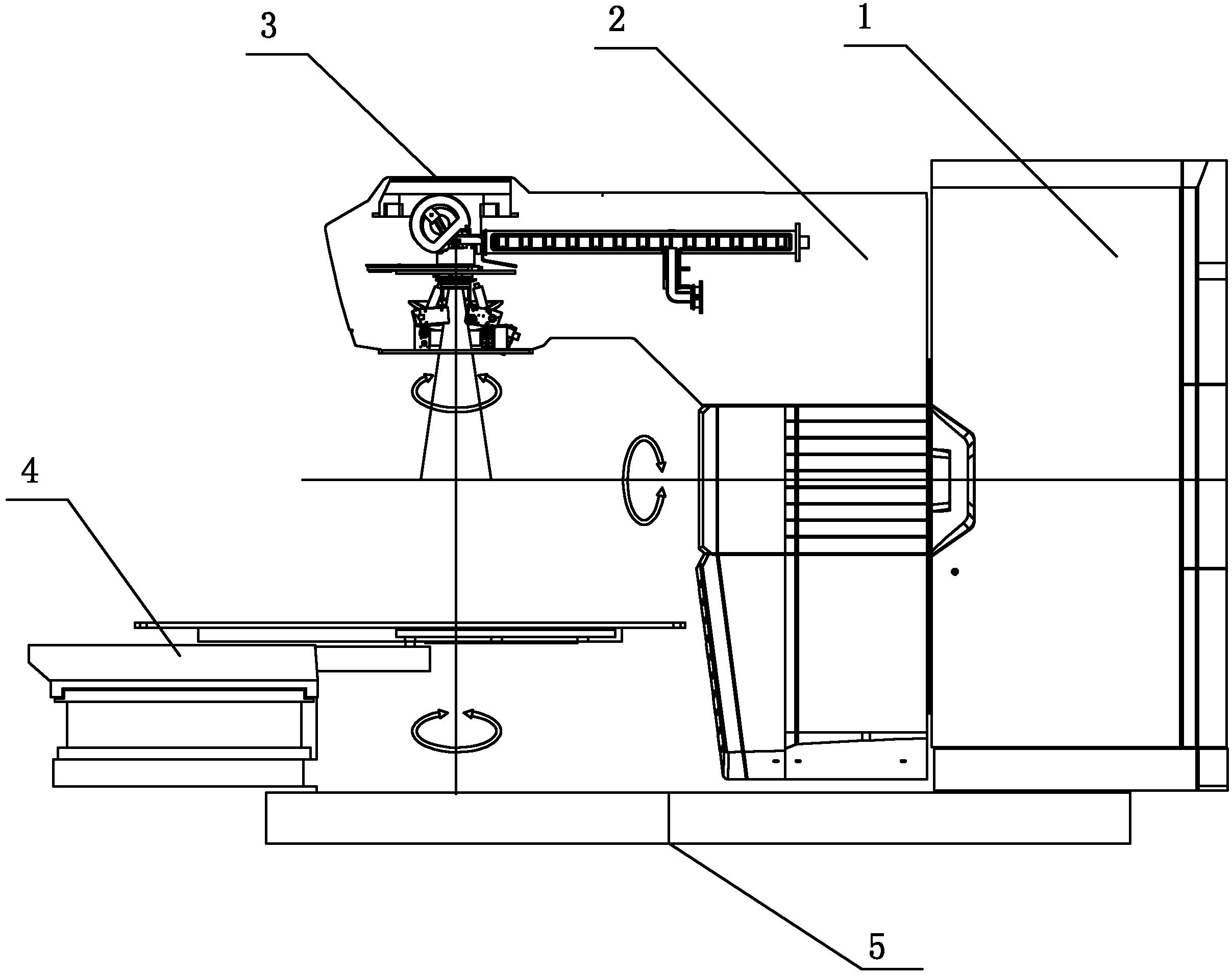
一种医用直线加速器治疗装置
图片尺寸1808x1830
医药卫生 临床医学 9医用直线加速器的检测ppt 加速器机头结构示意图
图片尺寸1080x810
医用电子直线加速器原理讲义ppt83页
图片尺寸1152x864
直线加速器的原理
图片尺寸542x269
放射治疗设备之直线加速器
图片尺寸812x469
电子直线加速器的工作原理ppt
图片尺寸1080x810
提出一种具有多档能量调节的电子直线加速器,包括电子枪(11),加速结构
图片尺寸1265x1021
新型医用电子直线加速器
图片尺寸671x424
什么是粒子加速器
图片尺寸1000x562
一种医用电子直线加速器非共面照射的方法
图片尺寸1753x1218
医用电子直线加速器的基本结构和系统构成
图片尺寸678x570
西门子虚拟调试技术助力华明普泰研发先进的医用电子直线加速器.
图片尺寸641x481
一种医用直线加速器治疗装置_cn201910443340.4_知雀网
图片尺寸980x1000
中能电子直线加速器
图片尺寸2414x1913
cn201564993u_"医用直线加速器"单轴承支撑机架旋转机构有效
图片尺寸2654x1724
医用电子直线加速器原理
图片尺寸1080x810
加速器结构
图片尺寸2726x1688
图 动画显示直线加速器的操作,广泛用于物理研究和癌症治疗结论相对论
图片尺寸640x204