直角挂板安装图

一种高强度直角挂板-爱企查
图片尺寸1894x1208
外墙安装干挂铝塑板铝单板配件铝合金角码直角90度连接件 (20x20)*40*
图片尺寸800x800
一种装配便捷的直角挂板-爱企查
图片尺寸661x800
塑料扣板吊顶安装方法
图片尺寸937x635
具体你去天猫 欧斯兰普旗舰店 随便找个扣板描述下面的安装说明
图片尺寸766x608
齿挂 安装示意图
图片尺寸793x444
直角挂板螺栓有穿反的
图片尺寸2000x2667
电力金具 直角挂板z-7 z-10 z-12 z-16 直角挂环 线路金具 玛钢件 z-7
图片尺寸800x800
电力金具供应商讲直角挂板的基础知识
图片尺寸1080x868
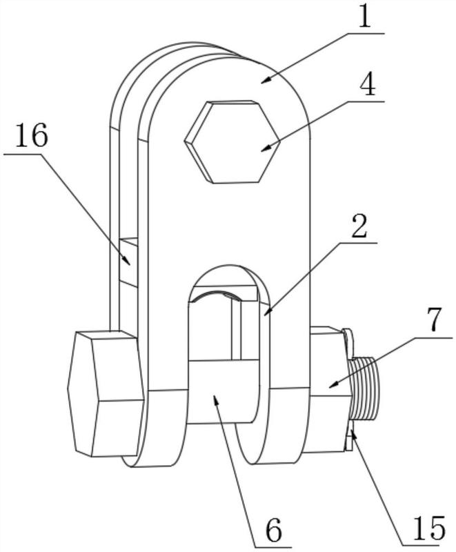
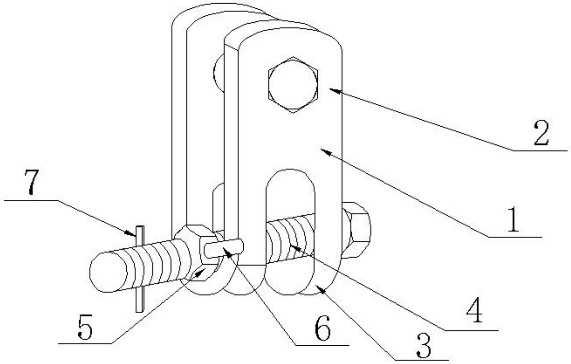
包括直角挂板主体,所述直角挂板主体上设置有安装组件,且直角挂板主体
图片尺寸800x503
河北鼎诺电力直角挂板z7z0780电力直角挂板z型直角挂板图片
图片尺寸718x1280
安装
图片尺寸1563x3141
卡迈斯方板天花 直角平面暗装铝天花 铝扣板集成吊顶方板明架天花
图片尺寸790x562
电力金具电力直角挂板直角挂板zzs
图片尺寸750x750
正品上海吉祥铝塑板4mm21丝 内外墙干挂 广告幕墙 门头专用板材
图片尺寸750x1036
吊顶龙骨间距多少吊顶龙骨间距介绍
图片尺寸730x565
下部重力支座(锁紧方式):安装完成使用与螺栓外径尺寸相同的垫片与角
图片尺寸554x329
关于可调式拉杆悬挑脚手架施工工艺技术介绍
图片尺寸586x508
grc外墙挂板安装
图片尺寸900x500
新沃 z型直角挂板 z 个
图片尺寸800x800