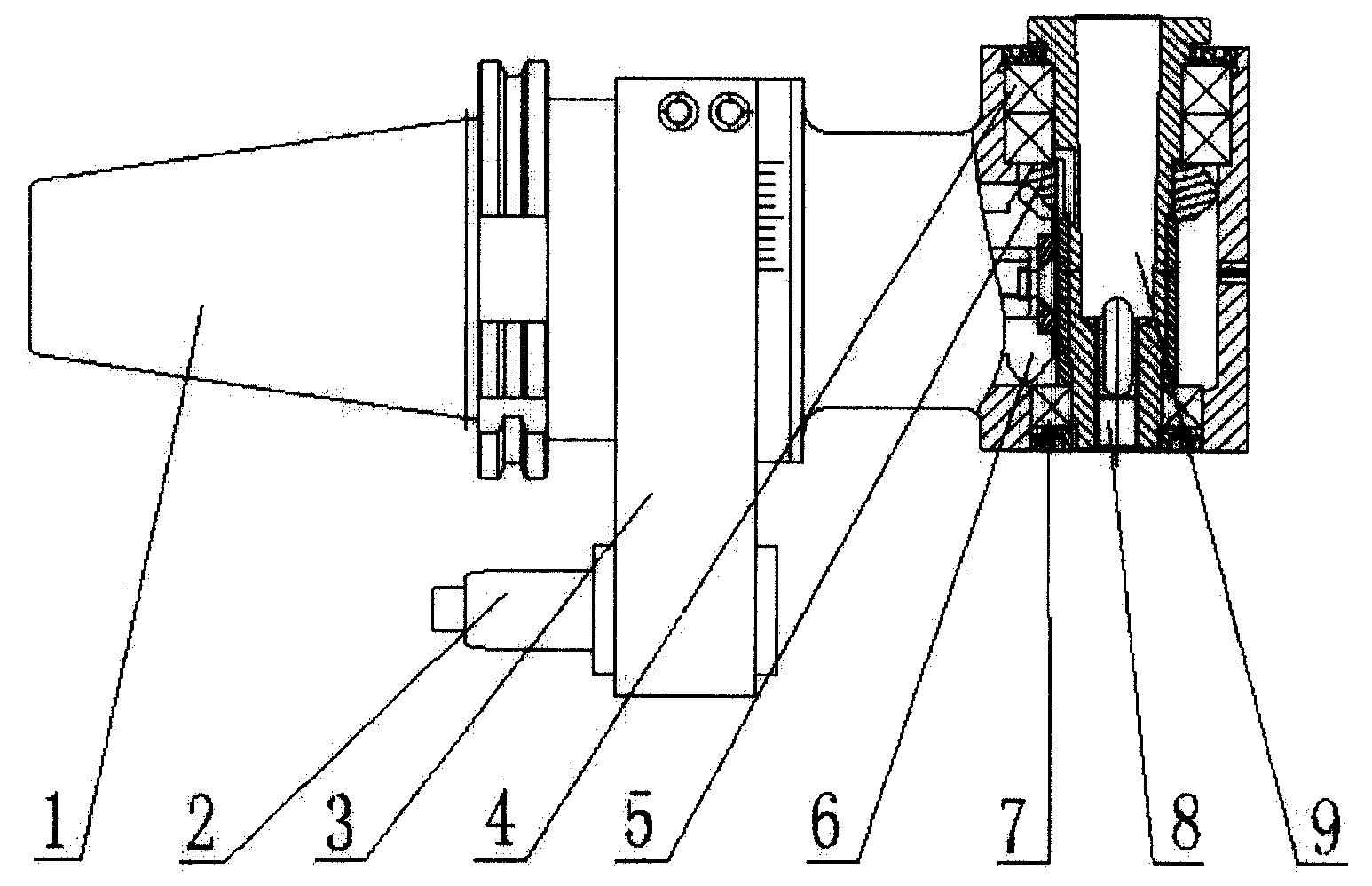
直角角度头结构

直角铣头角度头侧铣头横向铣头高速角度头bt50台
图片尺寸1000x669
一种万向角度头的制作方法
图片尺寸736x1000
【绘画参考】头部角度的绘画参考教程
图片尺寸1080x1439
cnc角度头加工中心侧铣头 90度铣头ks-a81-g-c手动齿盘定位直角头
图片尺寸790x510
角度头,90度直角头,进口角度头,万向角度头厂家直销
图片尺寸1425x1920
日系厚涂头部结构特殊角度线稿
图片尺寸2480x3580
u-13角度头 直角铣头横向铣头 龙门铣头 90度加工中心龙门侧铣头
图片尺寸815x1097
角度头侧铣头90度直角铣头万向铣头铣头加工中心 配件
图片尺寸800x800
超全角度的头部练习码了
图片尺寸1080x1212
大扭矩角度头 新款万能铣头 90度直角头 万能头
图片尺寸720x1068
再来一发头部不同角度画法
图片尺寸2000x2847
各种角度头部结构
图片尺寸1080x810
带扁尾莫氏圆锥孔直角角度头-爱企查
图片尺寸1546x998
角度头,90度直角头,进口角度头,万向角度头厂家直销
图片尺寸1425x1920
60°-10角度头 直角铣头横向铣头龙门铣头 cnc数控铣头龙门侧铣头
图片尺寸815x1097
再来一发头部不同角度画法
图片尺寸1280x2308
锥柄麻花钻锥柄加长麻花钻高速钢锥柄麻花钻镀钛钻头套装麻花钻头
图片尺寸500x477
ubt30角度头直角铣头横向铣头龙门铣头cnc数控铣头龙门侧铣头
图片尺寸815x1099
头角度
图片尺寸658x2211
cn201058379y_带扁尾莫氏圆锥孔直角角度头失效
图片尺寸1546x998