盾尾刷安装图

盾尾安装
图片尺寸2667x2000
1,盾尾刷点焊接完成1/2.
图片尺寸1080x1440
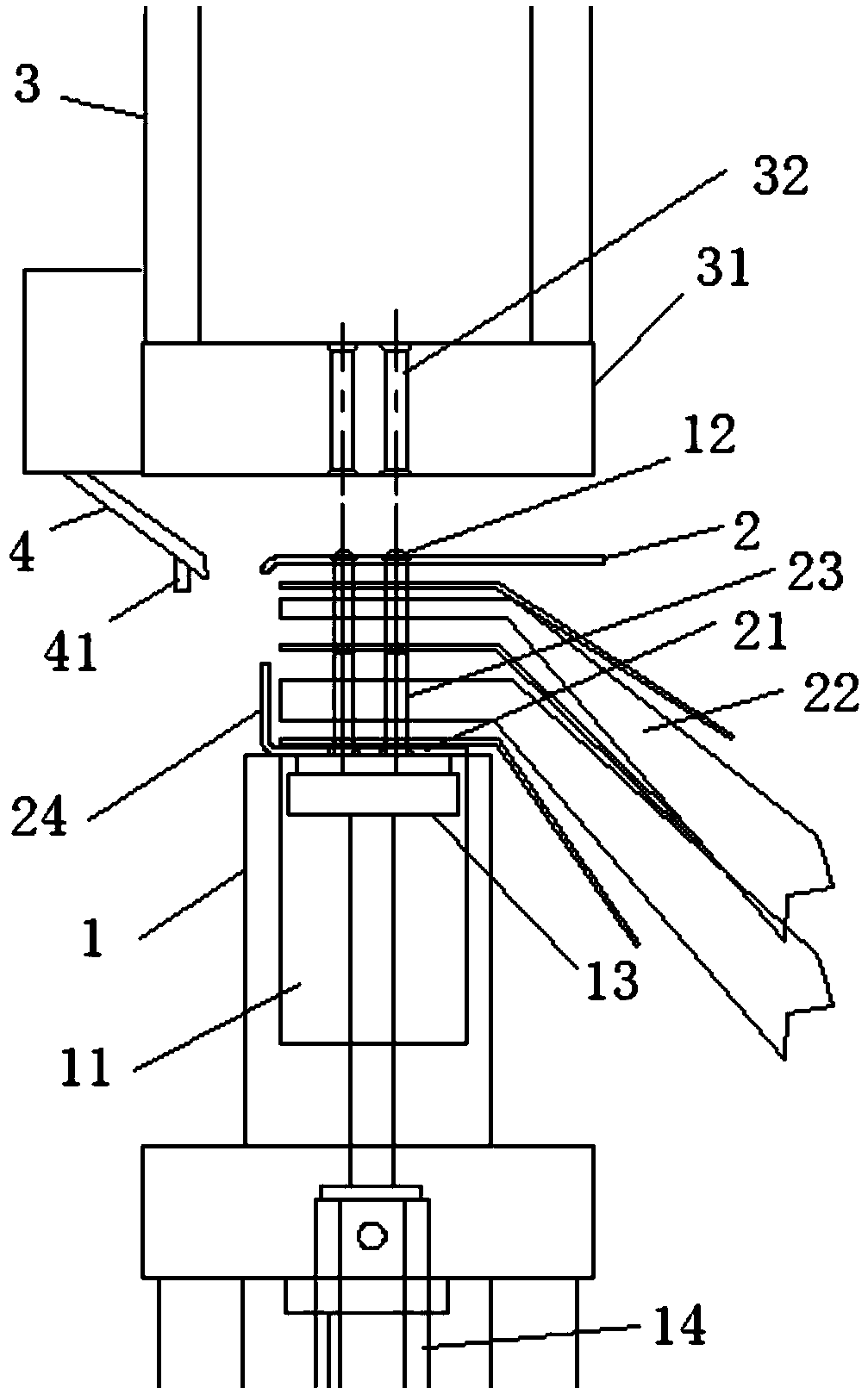
一种便于调节伸出长度的盾尾刷的制作方法
图片尺寸765x1000
一种盾尾刷
图片尺寸1246x1220
盾尾下半部第一道尾刷满焊完成
图片尺寸1080x1440
特大盾构盾尾刷更换ppt
图片尺寸1080x810
cn111706340a_方便更换的盾尾刷及该盾尾刷在长距离无加固工况下更换
图片尺寸1816x1612
epb 盾构机盾尾刷优化设计及防水措施
图片尺寸335x245
一种新型盾构机尾刷的制作方法
图片尺寸555x418
盾构机盾尾刷总装自动焊接装置
图片尺寸1007x1618
大直径盾构机盾尾刷保护及更换技术
图片尺寸1078x653
超大直径泥水气平衡盾构盾尾密封损伤原因分析及改进措施
图片尺寸670x291
盾尾下半部尾刷焊接
图片尺寸1440x1080
背景技术:盾尾刷是盾构机的一种刷形密封件,安装在盾构机后端.
图片尺寸1000x984
盾尾止浆板安装1/3
图片尺寸1080x1440
一种盾构机盾尾刷的制作方法
图片尺寸444x344
超级石化推荐新型油气回收技术在油品装车中的应用
图片尺寸1080x520
一种快速拆卸式盾尾刷的制作方法
图片尺寸429x744
上部盾尾刷割除
图片尺寸1080x1440
商品详情-邦威防护科技股份有限公司
图片尺寸790x1100