盾尾刷示意图

一种便于止浆的盾尾密封刷的制作方法
图片尺寸898x1000
一种盾尾刷
图片尺寸1246x1220
一种快拆式盾尾刷及盾尾密封装置
图片尺寸959x1000
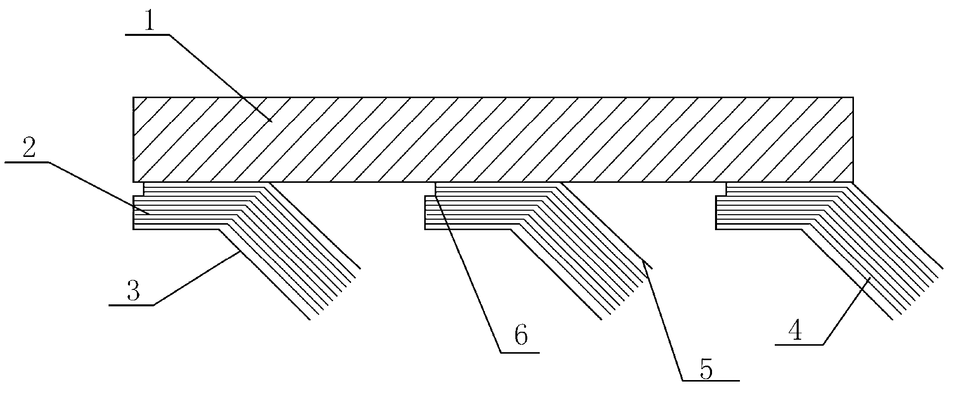
一种加强型盾尾密封刷
图片尺寸1928x799
一种新型结构盾尾刷的制作方法
图片尺寸941x632
一种盾构机盾尾刷
图片尺寸581x346
cn111706340a_方便更换的盾尾刷及该盾尾刷在长距离无加固工况下更换
图片尺寸1816x1612
一种新型盾尾刷及其组装工艺的制作方法
图片尺寸1000x984
一种快速拆卸式盾尾刷的制作方法
图片尺寸429x744
特大盾构盾尾刷更换ppt
图片尺寸1080x810
epb 盾构机盾尾刷优化设计及防水措施
图片尺寸335x245
cn203081456u_一种加强型盾尾密封刷失效
图片尺寸1000x414
一种可洞内更换全部盾尾刷的盾尾机构及更换盾尾刷的方法-爱企查
图片尺寸800x537
盾尾密封及盾尾刷形式图
图片尺寸670x291
一种盾构机盾尾刷的制作方法
图片尺寸444x344
一种可拆卸式防渗透的盾尾刷及盾构机的制作方法
图片尺寸1000x813
盾尾刷及盾构机的制作方法
图片尺寸1000x771
盾尾刷总装制造方法与流程
图片尺寸956x848
一种可伸缩更换盾尾刷的新型盾尾壳体结构的制作方法
图片尺寸375x373
一种组装式泄漏报警警示的盾尾刷
图片尺寸1000x656