盾尾油脂泵结构图

84976泵杆(林肯盾尾油脂泵)
图片尺寸2330x897
盾尾油脂泵-爱企查
图片尺寸1152x2721
一种气动油脂泵-爱企查
图片尺寸645x800![[鲸圣]磷酸原料泵,自吸高压清水泵之40fzb-20](https://i.ecywang.com/upload/1/img1.baidu.com/it/u=1095727943,1131917038&fm=253&fmt=auto&app=138&f=JPEG?w=500&h=1052)
[鲸圣]磷酸原料泵,自吸高压清水泵之40fzb-20
图片尺寸750x1578
斗山55液压泵分解图
图片尺寸681x451
一种新型汽车燃油泵的制作方法
图片尺寸543x660
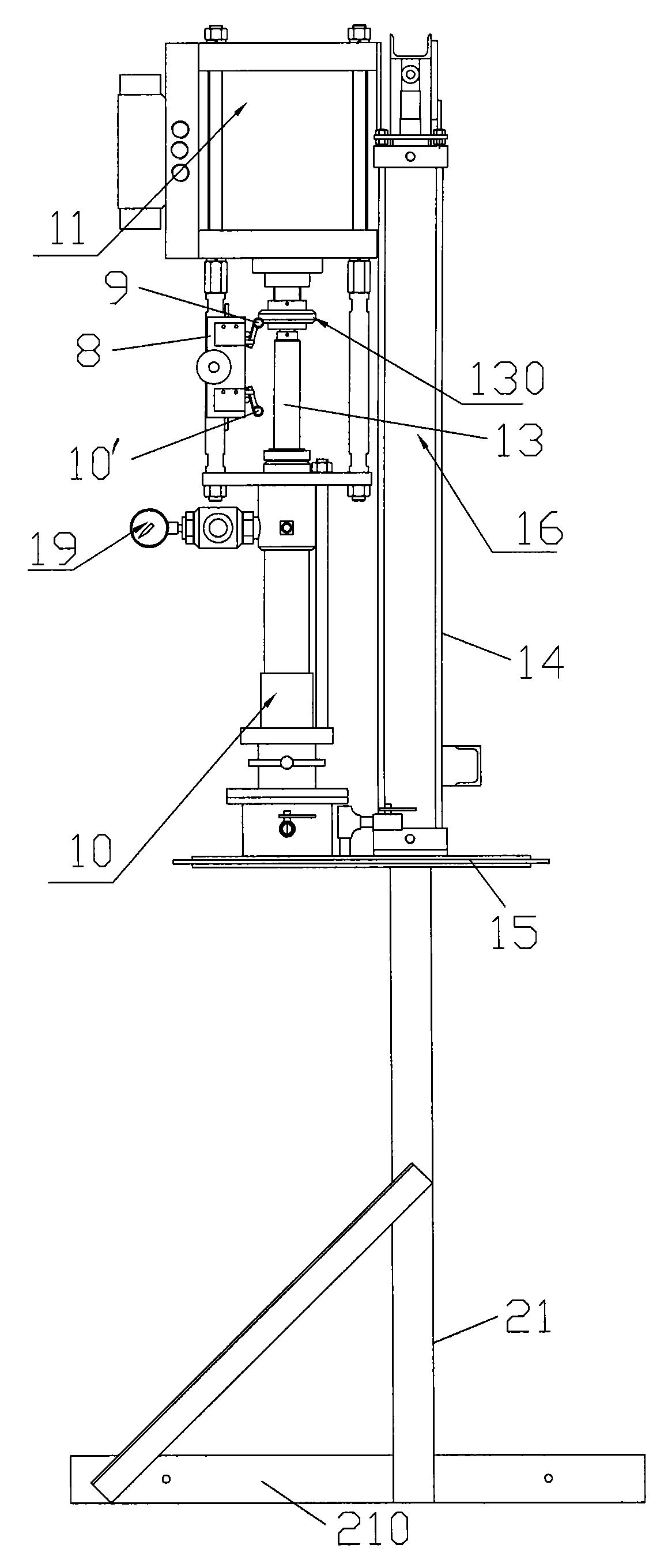
一种用于盾构机的密封油脂泵的制作方法
图片尺寸1724x2005
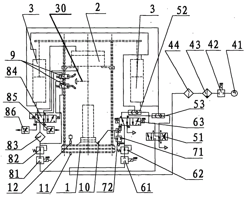
盾构机盾尾油脂泵气控传动装置
图片尺寸800x658
理由:该标准的编制旨在通过标准的制修订,引导企业对产品进行结构改良
图片尺寸640x332
84976泵杆(林肯盾尾油脂泵)
图片尺寸2330x897
弹簧外置式乳液泵
图片尺寸2015x2836
汽油泵工作原理(汽油泵工作原理示意图)
图片尺寸640x528
液下泵结构说明
图片尺寸794x1123
销售美国graco原装盾构机专用泵200l盾尾油脂泵c61油脂泵
图片尺寸800x800
一种盾尾密封油脂注入系统-爱企查
图片尺寸1896x1146
林肯油脂泵 盾尾油脂泵杆下泵体84976/84902/84995/94991现货包邮
图片尺寸900x900
乳液泵防进水机构
图片尺寸1880x2354
graco固瑞克 65-1盾尾气动油脂泵泵头245111 泵体246942 正品现货
图片尺寸1280x1280
n 林.肯气动泵 盾尾油脂泵杆84976/84902/84995 84991
图片尺寸1080x1920
喷油泵的结构
图片尺寸425x566