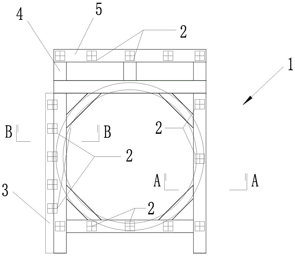
盾构反力架示意图

盾构机反力架结构的设计及应用
图片尺寸1035x558
盾构始发反力架验算书
图片尺寸560x449
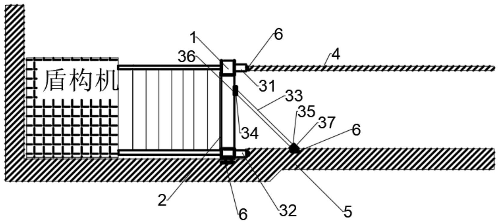
先对底板进行清理,再对反力架进行精确定位,使之与盾构机的中心轴线
图片尺寸547x311
反力架示意图
图片尺寸560x420
一种盾构机头反力架的制作方法
图片尺寸1000x847
盾构示意图 15
图片尺寸1080x810
活动作品可移动反力架示意图
图片尺寸1768x1105
反力架示意
图片尺寸560x386
一种盾构机反力架的制作方法
图片尺寸1000x436
一种适用于长大坡道始发的盾构机反力架
图片尺寸1664x747
盾构反力架图
图片尺寸610x335
一种用于盾构机在小半径曲线始发的反力架
图片尺寸1000x866
反力架结构示意图
图片尺寸560x299
盾构机反力架后背
图片尺寸641x456
一种盾构机反力架-爱企查
图片尺寸825x822
一种装配式盾构反力架
图片尺寸1000x803
一种盾构机反力架制造技术
图片尺寸1000x621
盾构掘进反力架验算
图片尺寸920x1303
一种盾构二级可调斜撑式反力架的制作方法
图片尺寸443x286
一种盾构机反力架的制作方法
图片尺寸1000x869