真空冷阱装置原理图

真空预冷机原理图
图片尺寸600x358
cn212585323u_一种真空干燥用自动冷阱有效
图片尺寸494x551
高真空阀6. 冷阱7. 扩散泵8. 前级真空阀9. 电磁放气阀10.
图片尺寸613x323
图2 典型真空系统原理图
图片尺寸359x285
用于真空冷冻干燥机的冷阱制冷系统的制作方法
图片尺寸1000x619
真空系统的组成设计
图片尺寸444x445
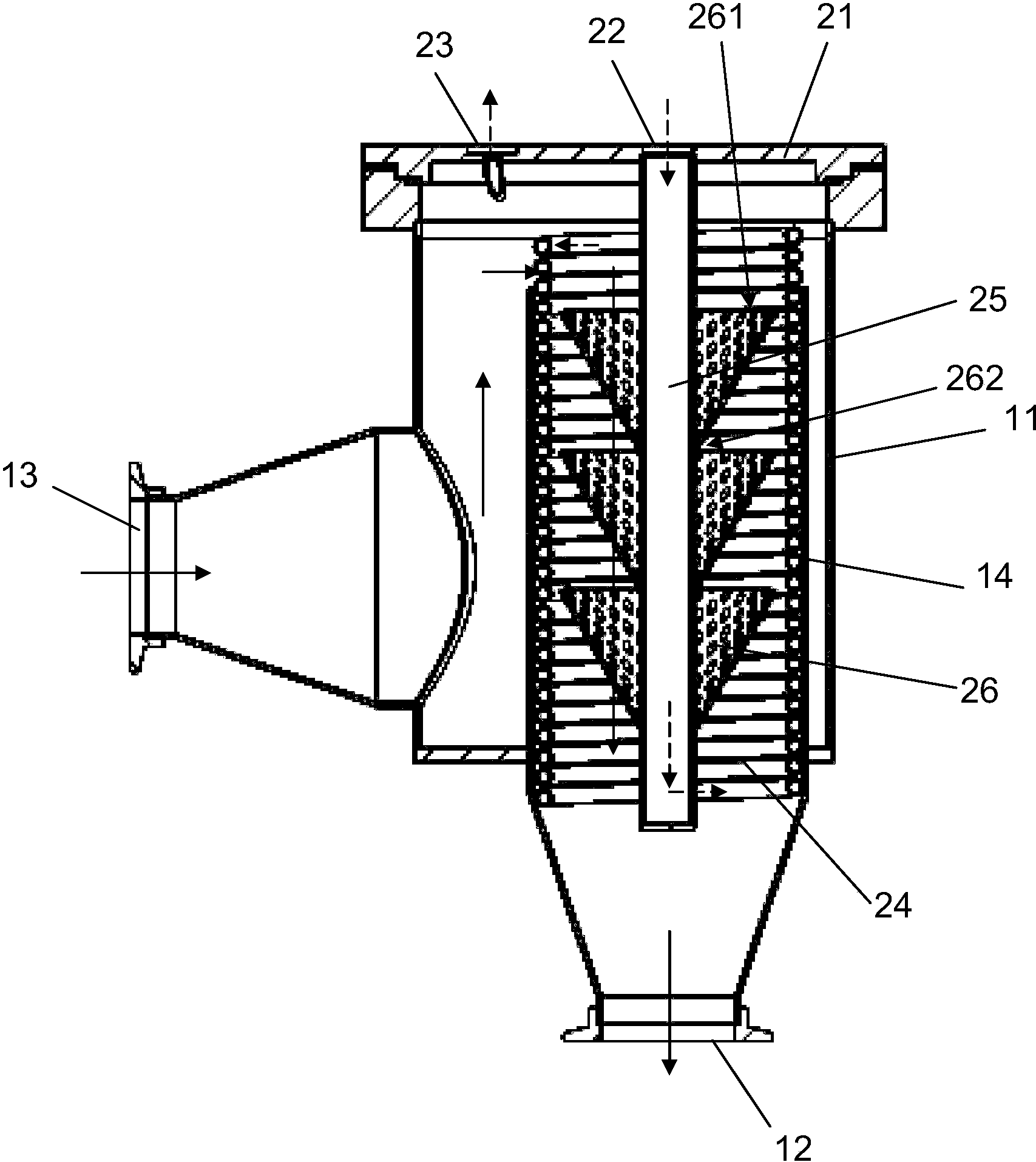
一种高效真空冷阱和高效真空冷阱装置
图片尺寸820x1000
真空冷冻干燥机产品特点7寸彩*液晶屏显示;液晶显示干燥曲线;冷阱带有
图片尺寸562x397
制冷系统真空泵抽真空
图片尺寸543x406
置于真空容器和泵之间,用于吸附气体或捕集油蒸汽的装置 冷阱作为一种
图片尺寸600x351
真空系统原理图
图片尺寸554x304
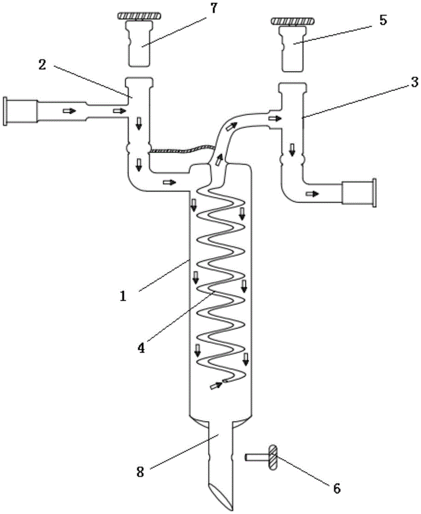
一种循环式冷阱装置_cn201821792116.3_知雀网
图片尺寸756x1000
cn106591803a_一种lpcvd系统冷阱装置有效
图片尺寸1707x1915
rh真空精炼循环流动数值研究进展
图片尺寸481x452
wiggens cp 1 /cp 2 真空系统(带两个冷阱)
图片尺寸535x624
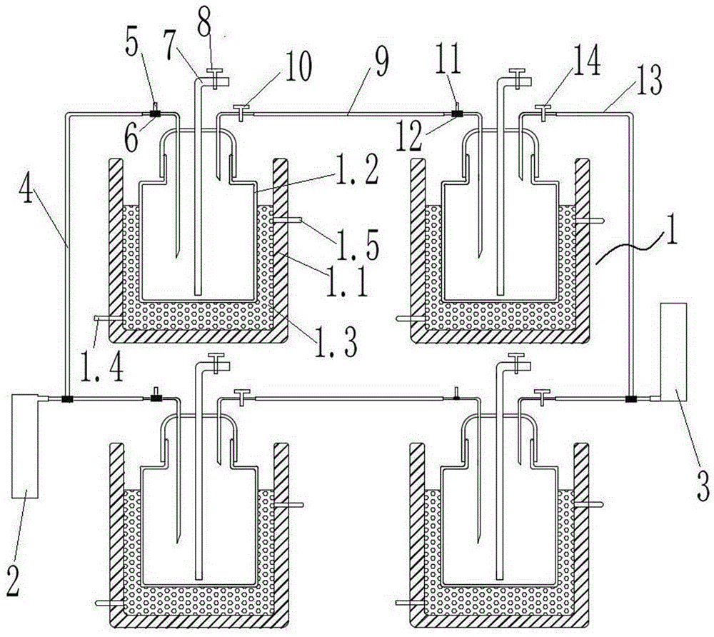
通过连接管相互首尾串联形成的冷阱串联组,制冷机,干燥容器,真空泵
图片尺寸1000x892
冷阱在真空操作中的重要作用_型号:ctb-10
图片尺寸730x407
cp1cp2真空系统带双冷阱适合化学实验室
图片尺寸800x328
辅助真空系统
图片尺寸445x211
日本taitec 冷阱 冷凝捕集器 va-250f等
图片尺寸500x295