瞬时安全钳图解

马鞍山sga31a瞬时式安全钳
图片尺寸1125x778
三,瞬时型偏心安全钳
图片尺寸777x1315
电梯限速器安全钳联动试验详解
图片尺寸1356x1996
lsg02 别墅梯家用梯瞬时安全钳
图片尺寸1654x2260
安全钳ak01,ak05,ak07 安装使用说明
图片尺寸1653x2338
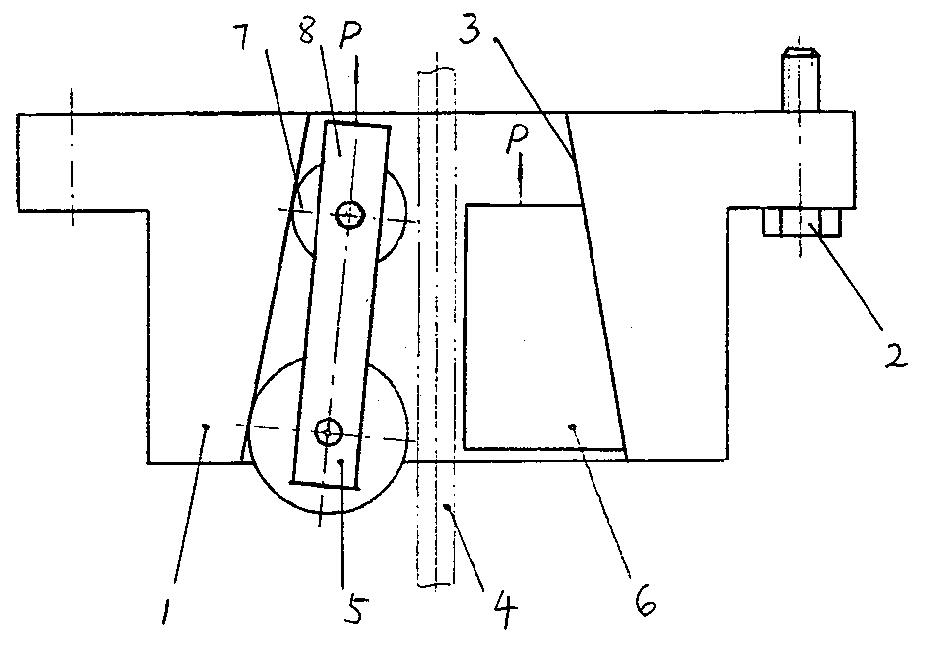
电梯瞬时式安全钳
图片尺寸930x649
安全钳调试指南:你调对了吗?
图片尺寸1225x1589
安全钳ak01,ak05,ak07 安装使用说明
图片尺寸1653x2338
瞬时式安全钳 aq6a
图片尺寸2480x1668
通力电梯双联安全钳培训
图片尺寸640x427
电梯安全钳的工作原理
图片尺寸720x960
限速器安全钳联动试验中如何判断安全钳的电气开关是在安全钳动作
图片尺寸1200x968
安全钳ak01,ak05,ak07 安装使用说明
图片尺寸1653x2338
安全钳ak01,ak05,ak07 安装使用说明
图片尺寸1653x2338
电梯安全钳设计资料
图片尺寸500x1034
光栅尺.电子安全钳
图片尺寸1080x1426
电梯安全钳工作原理深度解析
图片尺寸1080x1885
一种电梯瞬时式安全钳的制作方法
图片尺寸1000x857
一种大吨位瞬时式安全钳的制作方法
图片尺寸1000x974
通力电梯安全钳安装检查培训
图片尺寸640x427