矩形uasb三视图

啤酒废水uasb处理工艺施工图cad图纸
图片尺寸1290x870
uasb工艺图
图片尺寸1534x862
uasb反应器
图片尺寸707x510
厌氧塔uasb反应器食品工厂医院污水废水处理设备高浓度自动分离器
图片尺寸750x1033
某工厂uasb反应器cad详图
图片尺寸1440x1020
青岛海越带你了解uasb工作原理
图片尺寸587x644
用于污水处理uasb反应器
图片尺寸1266x1429
uasb 升流式厌氧污泥床 升流式厌氧反应器 厌氧罐
图片尺寸1440x1020
uasb反应器图
图片尺寸695x487
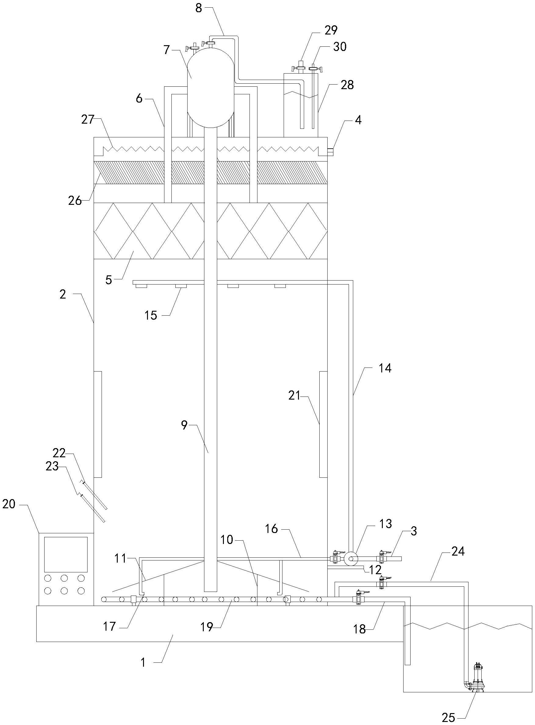
一种改进型uasb厌氧反应器
图片尺寸1754x2375
uasb反应器
图片尺寸1600x1280
uasb反应器
图片尺寸820x668
uasb反应器三视图
图片尺寸200x200
高浓度有机废水采用矩形uasb反应器设计方案图
图片尺寸560x403
某工程uasb反应器设计cad图纸
图片尺寸818x488
uasb三视图
图片尺寸818x488
uasb三项分离器安装图
图片尺寸664x514
调节沉淀池uasbsbr设计cad施工图纸
图片尺寸1440x1020
uasb主要处理什么污水uasb工作原理及类型有哪些
图片尺寸2384x1304
uasb升流式厌氧污泥床升流式厌氧反应器厌氧罐
图片尺寸545x377