石材数控仿形机教程

高动态仿形能力是精密大理石动/定龙门平台的一大亮点.
图片尺寸5917x6983
新型数控石材仿形机-爱企查
图片尺寸1738x1077
专业生产桥式大切,红外线桥切,五轴cnc数控切割机,数控仿形机,红外线
图片尺寸1080x1920
横竖双刀电脑仿形海绵切割机,当前速度最快的海绵数控切割机
图片尺寸1953x3472
数控异型圆柱机 全自动花瓶圆石柱切割机 花岗岩石材高速仿形机械
图片尺寸750x750
15单臂式仿形机 石材切割机 石材设备 石材机械厂家 石材生产机械
图片尺寸998x1286
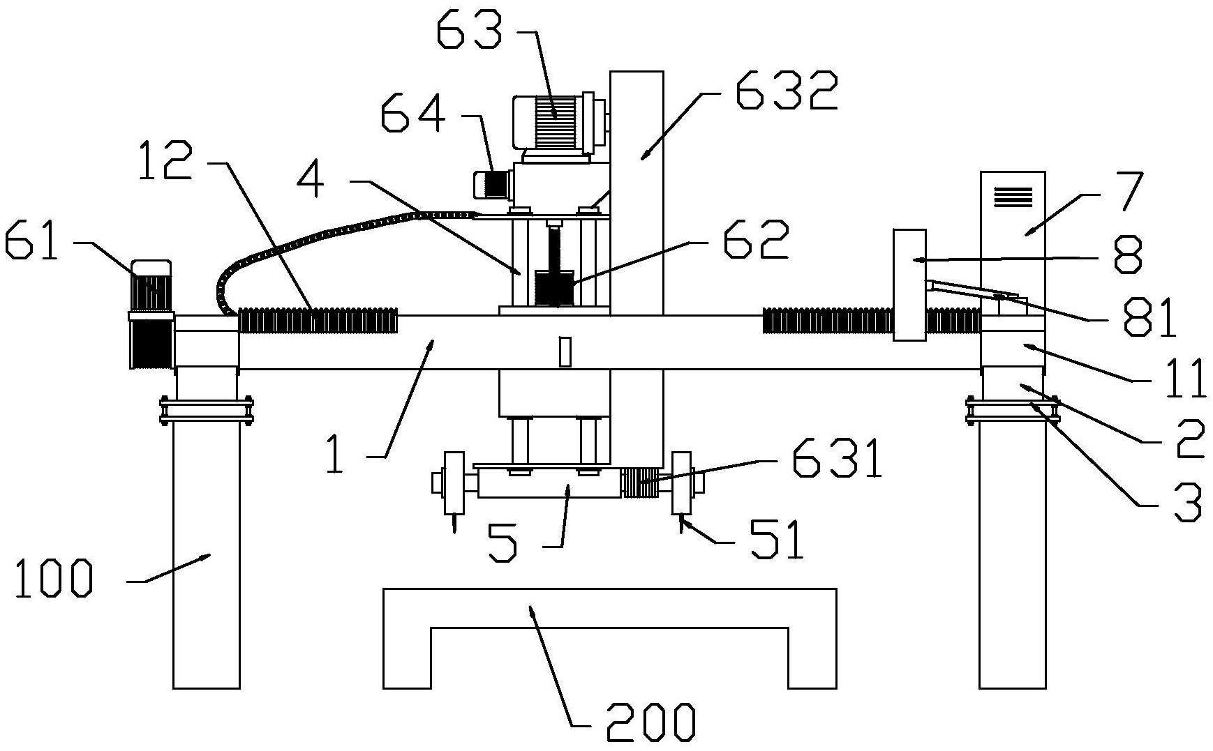
一种具有打磨功能的石材仿形机-爱企查
图片尺寸2840x1872
中国石材产业资源整合最佳展示平台云浮石展会石文化节成为刷新云浮
图片尺寸960x640
石线仿形机石材线条加工设备展鸿电脑仿形机仿形切割功能
图片尺寸1268x1690
仿形数控开榫机 开榫头机器调试很容易 (133)
图片尺寸448x252
仿形数控开榫机 开榫头机器调试很容易 (114)
图片尺寸448x252
原本很新的中仿成色很好的石材仿形机
图片尺寸1080x1443
四头卧式栏杆仿形机花岗岩栏杆数控cnc石材柱坐柱帽仿形设备直供
图片尺寸790x1100
异形线条加工电脑数控仿形机台面前罗马边石英石加工中心
图片尺寸800x1338
二维石材电脑仿形机
图片尺寸1600x919
【聚焦第22届石博会】 跨界破圈 "设计 智造"加速石业复苏_石材_展区
图片尺寸1080x720
石材仿形机操作教程方法
图片尺寸600x800
原本很新的中仿成色很好的石材仿形机
图片尺寸1080x1443
fl-3500石材磨边机 大理石花岗岩板材磨边倒角修边仿形修边机械
图片尺寸750x750
立式带锯机 石材数控锯铣机操作现场视频 (1)
图片尺寸1728x1080