石磨内部构造图

传统 石磨 肠粉加盟 特色小吃 投资金额 1万元以下 特色小吃
图片尺寸640x744
故乡农具志
图片尺寸854x640
供应蛟河中阳牌青石石磨手动石磨豆浆机
图片尺寸750x741
电动肠粉石磨机豆浆石磨机米浆石磨生产厂家
图片尺寸740x955
一种研磨生产效率高的米浆石磨
图片尺寸494x487
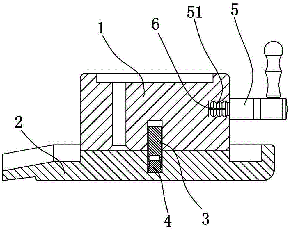
一种电动石磨的制作方法
图片尺寸1000x921
一种用于南方人工种植红豆杉种籽壳破碎石磨的制造方法与工艺
图片尺寸557x520
胶体磨内部构造图胶体磨结构特点:由于胶体磨是在内部进行物料的加工
图片尺寸640x430
干式球磨机内部结构展示
图片尺寸800x530
潾钰奇机械在线咨询石磨豆浆机全自动石磨豆浆机
图片尺寸700x1576
m7120a平面磨床磨头修复
图片尺寸3120x1638
传成电器图电动石磨订购揭阳电动石磨
图片尺寸600x518
立式磨在8万吨年重质碳酸钙粉磨工艺中的应用
图片尺寸473x356
一种石磨结构
图片尺寸1000x791
一种电动石磨
图片尺寸1000x911
胶体磨的结构分解图
图片尺寸3124x2895
格子式球磨机内部结构,工作原理及参数介绍
图片尺寸690x517
加工400目方解石粉可以选用立式磨
图片尺寸500x536
石磨
图片尺寸840x904
cn2928235y_石磨磨面机失效
图片尺寸1469x1426