矿泉水瓶结构图

玻璃包装容器结构南安普顿大学在研究中,对五种材料包装进行了各种
图片尺寸660x587
结构素描矿泉水瓶
图片尺寸638x462
杜瓦瓶的结构以及注意事项 - 河北东照能源科技有限公司
图片尺寸640x643
钢瓶- 热门商品专区
图片尺寸1242x1420
矿泉水瓶设计
图片尺寸570x806
便于标识的新型矿泉水瓶制造技术
图片尺寸1000x991
一种矿泉水瓶的制作方法
图片尺寸502x1000
素描瓶子的画法,尤其是这类矿泉水瓶,就是画圆柱体,就是在考验基本功.
图片尺寸1080x1439
一种新型矿泉水瓶
图片尺寸1546x1895
8 ml硫酸-甲醇溶液(1.
图片尺寸632x880
商标logo
图片尺寸2153x2410
素描基础静物透明矿泉水瓶质感表现1
图片尺寸1080x810
矿泉水瓶标设计征集
图片尺寸2056x3088
包装储藏运输设备的制造及其应用技术
图片尺寸798x1000
一种新型矿泉水瓶
图片尺寸486x1000
塑料瓶的制作方法
图片尺寸1000x871
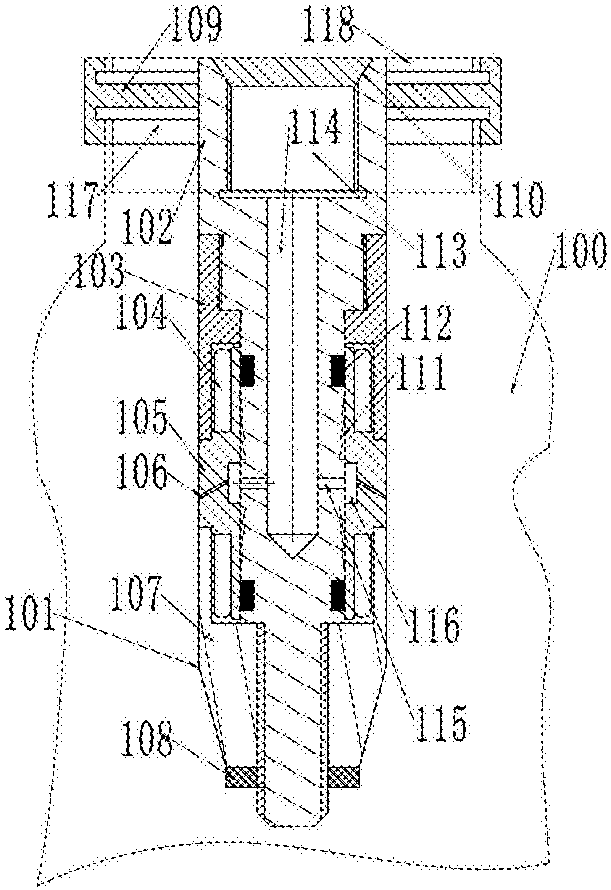
一种自加热矿泉水瓶
图片尺寸1362x1729
便于标识的新型矿泉水瓶的制作方法
图片尺寸988x1000
cn207001212u_适合运动的矿泉水瓶结构有效
图片尺寸611x890
关键词:瓶身设计 瓶子矢量图 矿泉水瓶子 矢量图 其他设计 广告设计
图片尺寸991x402