矿泉水瓶结构

结构矿泉水瓶步骤
图片尺寸1080x1439
结构素描矿泉水瓶
图片尺寸638x462
一种新型矿泉水瓶
图片尺寸1546x1895
塑料瓶的制作方法
图片尺寸1000x871
专利详情
图片尺寸832x1241
素描瓶子的画法,尤其是这类矿泉水瓶,就是画圆柱体,就是在考验基本功.
图片尺寸1080x1439
矿泉水瓶设计
图片尺寸570x806
便于标识的新型矿泉水瓶制造技术
图片尺寸1000x991
一种不再漏水的暖水瓶
图片尺寸430x557
cn207001212u_适合运动的矿泉水瓶结构有效
图片尺寸611x890
便于标识的新型矿泉水瓶的制作方法
图片尺寸988x1000
包装储藏运输设备的制造及其应用技术
图片尺寸798x1000
保温瓶
图片尺寸146x220
cn103264805a_一种瓶子失效
图片尺寸879x1000
【供应】2升碳酸饮料含气瓶一出二半自动吹瓶机组
图片尺寸800x276
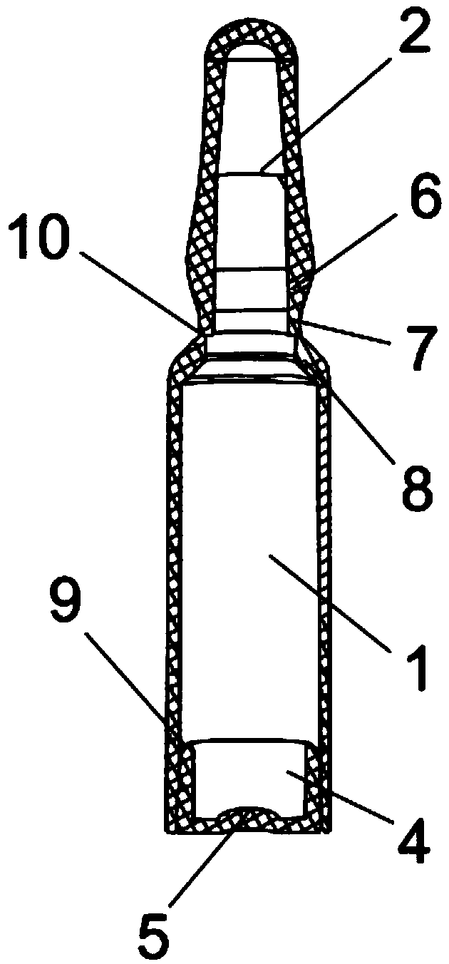
一倾斜部,垂直部和第二倾斜部,第一倾斜部为上大下小的圆锥台壳体结构
图片尺寸630x1352
一种可改变体积的矿泉水瓶的制作方法
图片尺寸655x1000
分析饮料瓶的结构设计容积瓶盖螺纹等
图片尺寸920x1303
cn2483347y_双容饮料瓶失效
图片尺寸518x945
一种饮料瓶结构的制作方法
图片尺寸587x1000