矿用猴车掉绳装置

200型猴车防脱绳装置 尼龙材质防吊绳装置 橡胶防吊绳装置
图片尺寸750x750
200型猴车防脱绳装置 尼龙材质防吊绳装置 橡胶防吊绳装置
图片尺寸750x750
猴车拖轮 猴车自动防偏装置 深槽防掉绳装置厂家 中隧
图片尺寸750x750
实时检测,分析和存储猴车钢丝绳运行时的内外部状态,发现异常情况并
图片尺寸600x450
厂家直供猴车卡绳器 结构紧凑猴车卡绳器装卡速度快 猴车卡绳器
图片尺寸800x800
煤矿专用猴车传输设备矿用架空乘人装置
图片尺寸500x375
厂家直供猴车卡绳器结构紧凑猴车卡绳器装卡速度快猴车卡绳器
图片尺寸800x800
矿用猴车 煤矿员工运输设备架空乘人装置 k型猴车厂家
图片尺寸750x750
家专业致力于矿山猴车重力式抱索器,索头,抱索器,钢丝绳抱索器的企业
图片尺寸1080x1440
猴车
图片尺寸510x473
乾冠猴车抱索器 矿井载人装置 厂家批发
图片尺寸750x750
贵州紫金特有的下井神器——猴车
图片尺寸2667x2000
架空乘人装置设备投资小,其投资只占斜井人车投资的50%左右,矿用猴车
图片尺寸640x424
章村矿:自主研发新型"猴车"
图片尺寸1080x864
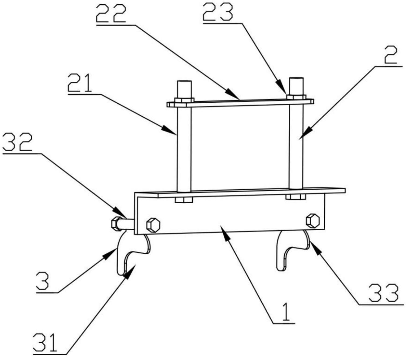
一种猴车防脱绳装置
图片尺寸1314x1157
猴车配件厂家直销矿用固定式抱索器可摘挂抱索器
图片尺寸2000x1339
煤矿井下用猴车托绳轮 乘人索道单托轮 不易磨损 耐磨损抗静电 - 爱企
图片尺寸750x750
猴车介绍
图片尺寸600x400
家专业致力于矿山猴车重力式抱索器,索头,抱索器,钢丝绳抱索器的企业
图片尺寸532x710
本实用新型公开了一种猴车防飞车保护装置,它是在猴车的下行钢丝绳托
图片尺寸1813x1582