砂石料仓设计图

图纸 装修设计 家装设计 其他室内装修 料仓图纸(仅供交流) 某
图片尺寸592x500
一种混凝土砂石原料储存料仓的制作方法
图片尺寸1000x687
砂石骨料生产线料仓分类设计要点及设计中常见问题分析
图片尺寸1334x846
一种混凝土砂石原料储存料仓-爱企查
图片尺寸2072x1931
75t锅炉cfb脱硫45m石灰粉仓图
图片尺寸820x604
小料仓结构
图片尺寸820x537
一种石灰粉搅拌料仓制造技术
图片尺寸890x1000
料仓含图纸
图片尺寸820x581![[青岛]市政工程施工现场安全文明标准化管理图集(155页)](https://i.ecywang.com/upload/1/img1.baidu.com/it/u=1327000323,889757698&fm=253&fmt=auto&app=138&f=JPEG?w=875&h=500)
[青岛]市政工程施工现场安全文明标准化管理图集(155页)
图片尺寸878x502
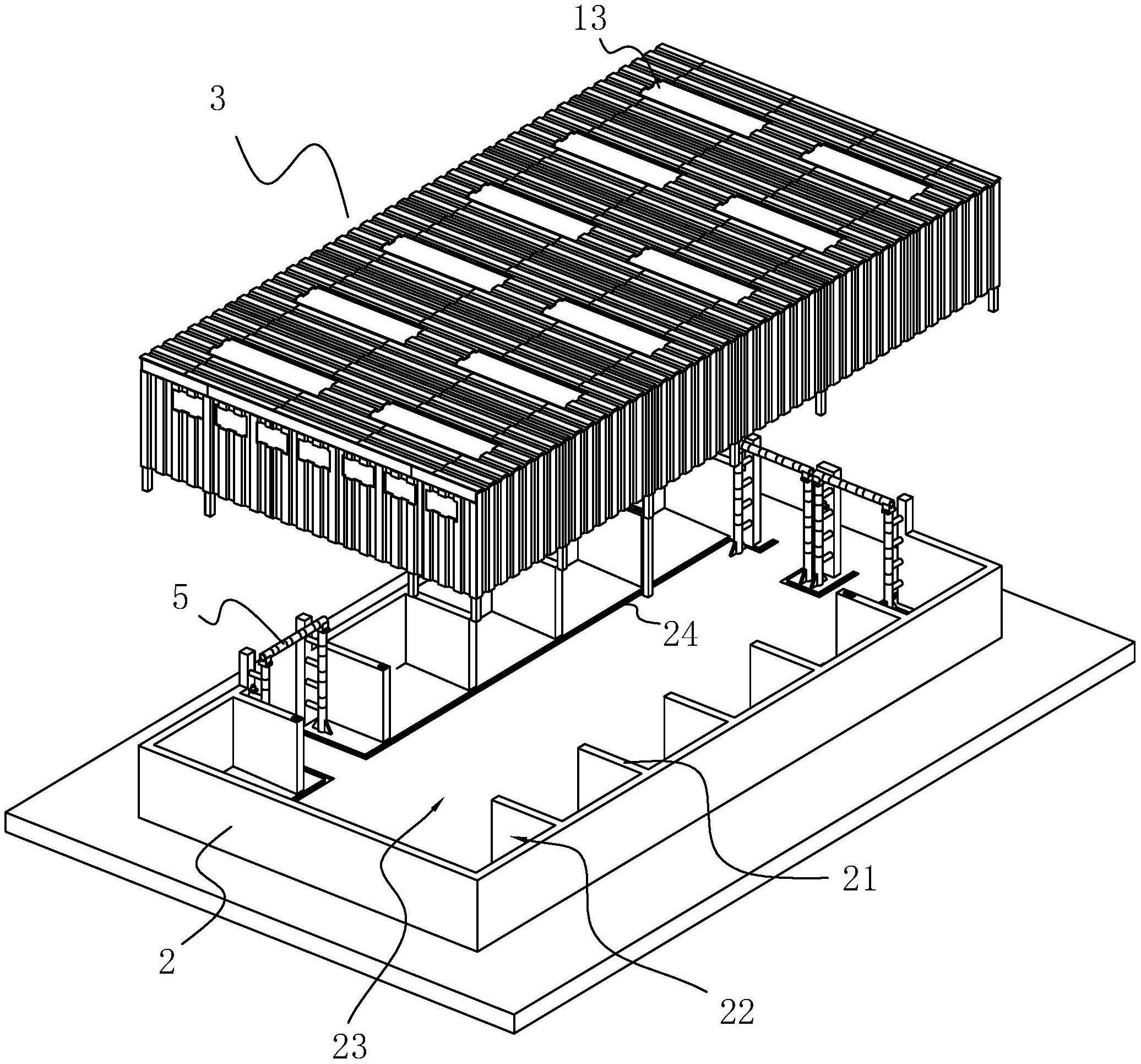
cn213386682u_一种抽屉式料仓有效
图片尺寸2232x1747
运砂石设备图切砖图全自动闭式砌块生产线 是在砖厂里经常用的设备,为
图片尺寸487x311
本实用新型公开了一种料仓,涉及污泥堆肥技术领域,主
图片尺寸1000x749
年产4万吨白酒瓶玻璃工厂原料车间设计
图片尺寸721x585
精钾料仓cad图纸申明:内容来自用户上传,著作权归原
图片尺寸820x1159
某石灰石粉仓结构施工图
图片尺寸567x713
本实用新型涉及一种污泥筛分返料料仓,能够对干化后
图片尺寸1925x1358
一种料仓结构制造技术
图片尺寸965x1000
catiacreoproeugautocadsolidworks精品课程设计软件最受欢迎免费图纸
图片尺寸820x284
250方粉仓制作图
图片尺寸820x583
电炉炼钢用石灰储存料仓设计
图片尺寸799x560