破玻装置使用图解

汽车安全用品 应急装置 > 中科神龙 sl-0002 无线智能自动破玻器
图片尺寸2481x3508
破玻器
图片尺寸385x415
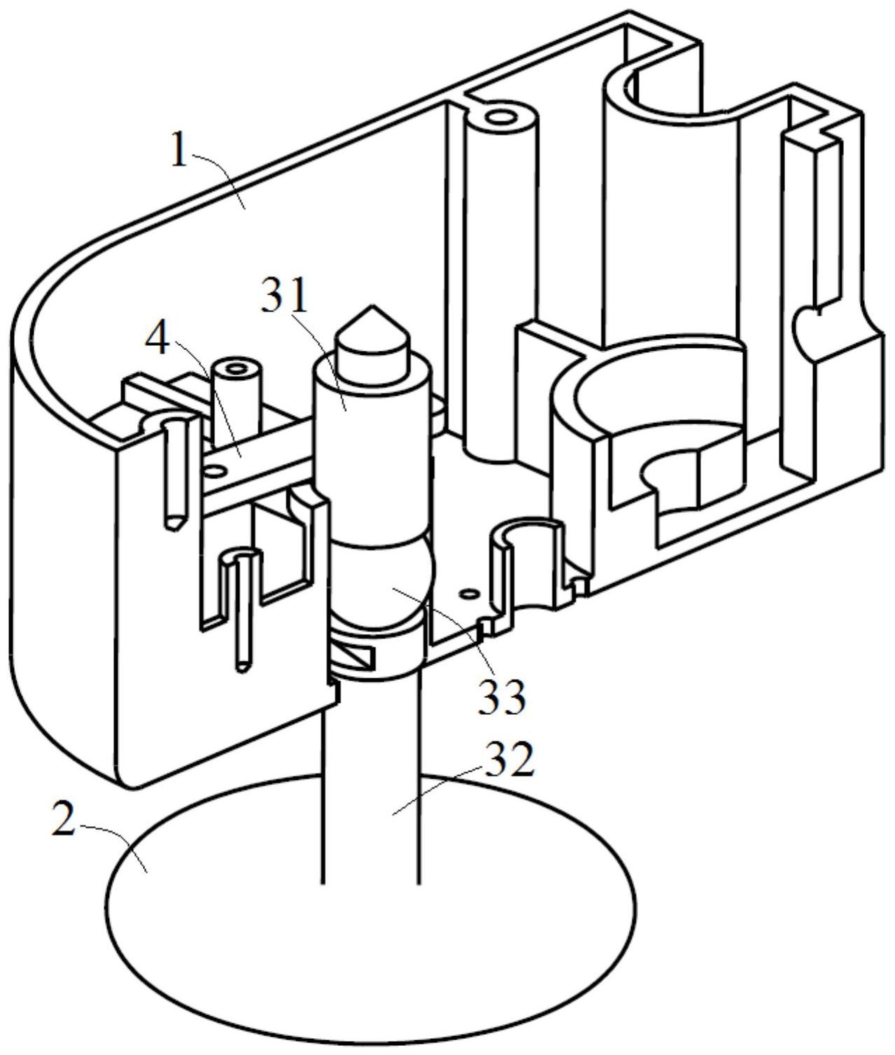
本发明涉及破玻装置技术领域,具体涉及一种投掷式破玻系统其使用方法.
图片尺寸443x216
公共场所或地面交通工具应急逃生及救援破玻系统的制作方法
图片尺寸993x1000
汽车安全用品 应急装置 > 中科神龙 sl-0002 无线智能自动破玻器
图片尺寸2481x3508
汽车安全用品 应急装置 > 中科神龙 sl-0002 无线智能自动破玻器
图片尺寸2481x3508
宇通侧窗破玻装置使用指南
图片尺寸636x358
自动破玻器
图片尺寸864x486
swan pgb 红外 玻破探测器说明书
图片尺寸905x1280
警用便携破玻器的制作方法
图片尺寸1000x555
一种手动电动一体式小体积破玻器及其手动破玻方法
图片尺寸1279x1507
无线智能自动破玻器消防设备厂家灭火设备厂家
图片尺寸822x491
固尚gson玻璃破碎按钮玻璃破碎开关电子门禁系统破碎出门开关按钮玻破
图片尺寸990x621
按压式双层玻璃破窗器的制作方法
图片尺寸970x1000
破玻器是一种安装在封闭式车窗设计车辆应急窗处的辅助逃生系统装置
图片尺寸1000x921
一种气动水陆两用快速破玻器
图片尺寸1000x645
客车破玻器-司机包围-易挥发物报警系统-空气净化器-车载体温检测仪
图片尺寸2572x3543
一种破玻装置的制造方法
图片尺寸585x486
本实用新型属于破玻装置领域,涉及一种警用高效率破玻器.背景技术:2.
图片尺寸345x443
破玻器防误操作装置
图片尺寸1221x764