硅晶柱

中国欲收购硅晶圆厂siltronic,改变全球格局?
图片尺寸479x359
有问有答:晶圆为什么是圆形的?
图片尺寸1200x1157
硅钢柱
图片尺寸600x450
晶圆为什么是圆形的?
图片尺寸1200x724
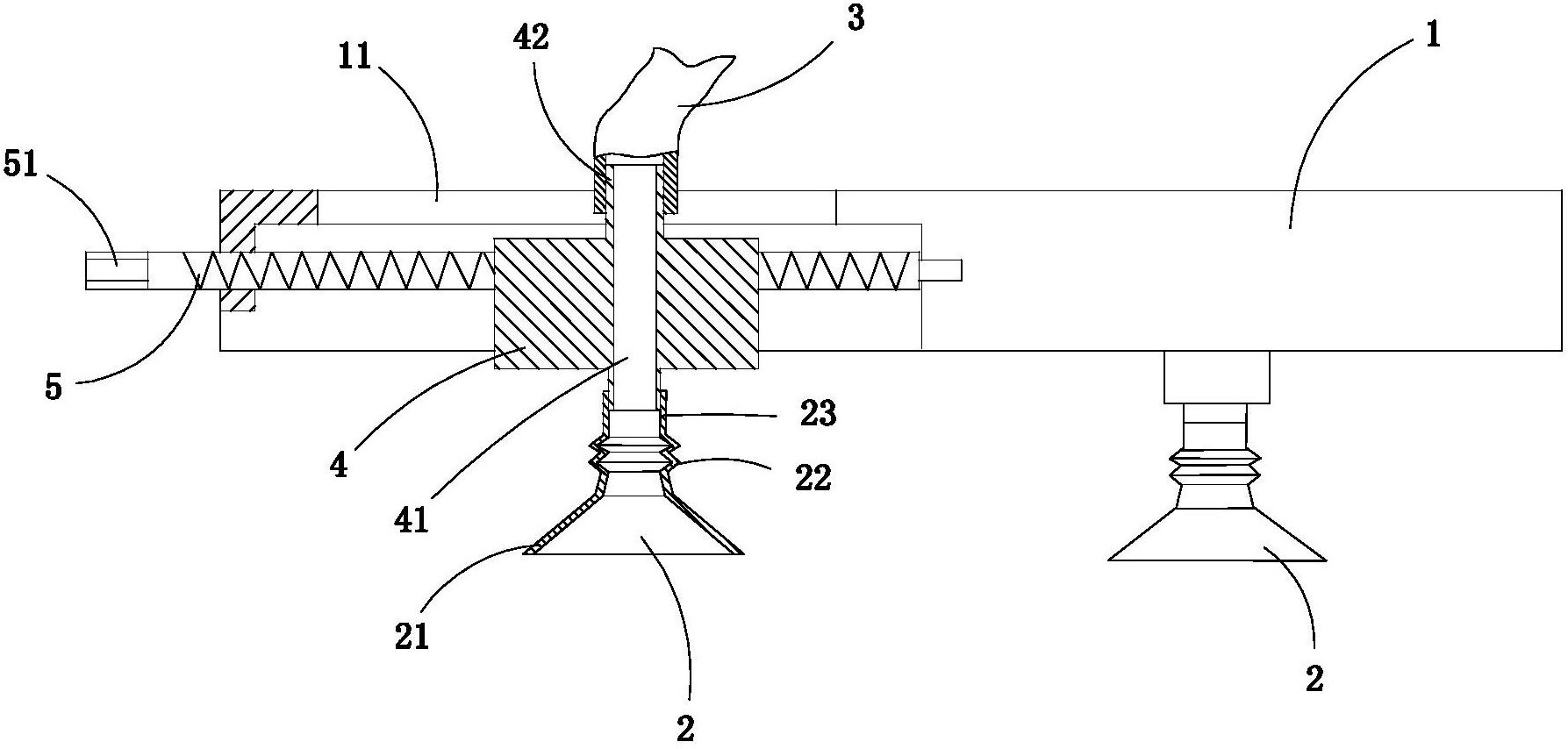
一种半导体生产用硅晶圆柱加工装置
图片尺寸1810x1538
常听到的 8 吋,12 吋晶圆厂,代表的就是硅晶柱切成薄片后的晶圆直径
图片尺寸418x384
纳微小课堂四个问题带你入门碳化硅的世界
图片尺寸1000x951
图:单晶硅柱3.切割成片.
图片尺寸532x493
什么是晶圆13650428898
图片尺寸221x497
小规模集成电路芯片制造工艺流程
图片尺寸577x350
蛰伏22年,市值近3600亿!死磕"单晶硅",让他做成了全球第一
图片尺寸400x266
腾飞华天硅钙板高晶板硅藻健康板硅晶板铝合金龙骨32g35gt型铝吊顶
图片尺寸350x350
资本论 | 英诺天使7年新能源汽车产业链投资盘点
图片尺寸660x648
一种硅晶片转移用吸盘装置-爱企查
图片尺寸1787x854
【太阳能电池硅晶片】价格,厂家,图片,表面处理,上海
图片尺寸1920x1280
首次揭示!硅纳米柱嵌锂过程的塑性流动和原子尺度应力变化
图片尺寸640x312
地球上最坚固的材料是什么?
图片尺寸660x528
传台积电加注存储硅晶圆供不应求反映存储等产品需求
图片尺寸670x335
巴基斯坦喜马拉雅水晶柱78
图片尺寸1080x1439
浦东新区inconelalloy705板材等离子切割
图片尺寸500x400