硫化氢捕消器

硫化氢捕消器:携带方便 反应效率高
图片尺寸941x422
硫化氢捕消器(剂)
图片尺寸600x450
硫化氢捕消器(剂)
图片尺寸4032x3024
支持定推车式硫氢捕消器 硫消化氢捕消器 制推车式硫化氢化捕器
图片尺寸800x800
h厂家硫化氢捕消器 手推硫化氢捕消器 z氢scp-2消s-4 型硫化捕器
图片尺寸800x800
硫化氢捕消装置-爱企查
图片尺寸1034x764
厂家硫氢捕现消器 化操作硫化好氢捕消器 货手推式硫化氢捕消器
图片尺寸800x800
现货出售硫化氢捕消器 操作使用简单硫化氢捕消器 硫化氢捕消器
图片尺寸800x800
其它/others 泄漏处置器,硫化氢捕消器 硫化氢泄漏处置器 硫化氢灭消
图片尺寸800x800
硫原厂化氢捕化消器 质保硫氢长捕消器 现货手提式硫化氢捕消器
图片尺寸800x800
山东山泰硫化氢捕消器泄漏处置器污染处置装备
图片尺寸800x800
硫化氢捕消器pzs/f5型 25型 硫化氢泄漏处置器,污染处置装备
图片尺寸800x800
筠蒽鑫硫化氢捕消器2kg/4kg8kg15kg25kg,泄漏处置器,污染处置装备
图片尺寸800x800
支持定制推车式硫化氢捕消器 硫化氢捕消器 推车式硫化氢捕消器
图片尺寸800x800
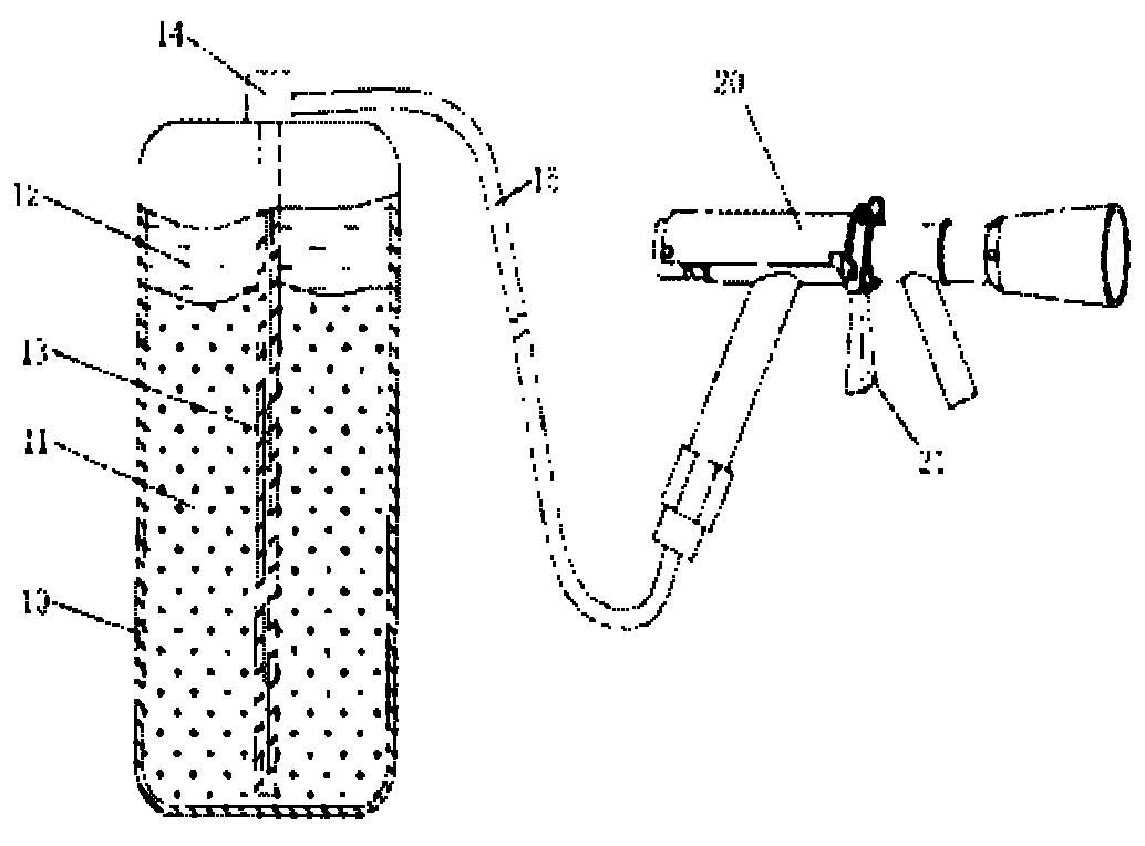
手持式硫化氢捕消器图片
图片尺寸1024x478
产品展示
图片尺寸277x353
中重工厂出售硫化氢捕消器 操作简单硫化氢捕消器 硫化氢捕消器
图片尺寸800x800
硫化氢捕消器气体检测预警互联系统水下机器人,主要应用于安全搜救
图片尺寸850x427
"卡莎甘"所处的地质岩层压力很高,这使得原油中含有大量的诸如硫化氢
图片尺寸640x357
硫化氢捕消器自动化灌装生产线投产试运行‖ 中国石化机械
图片尺寸1280x852