碎石整形机结构图

工艺,装配等多方面优化设计制造的一款新型欧版颚式破碎机,其结构独特
图片尺寸872x374
1100tph锤式破碎机结构
图片尺寸600x450
鄂式碎石机废料处理鄂破机400600越鑫鹅卵石鄂破制砂机
图片尺寸800x800
祁县石子石头粉碎机
图片尺寸545x476
冲击式制砂机新型石料整形机石英砂粉碎机冲击式制砂机厂家
图片尺寸750x500
石料颚式破碎机结构示意图
图片尺寸600x450
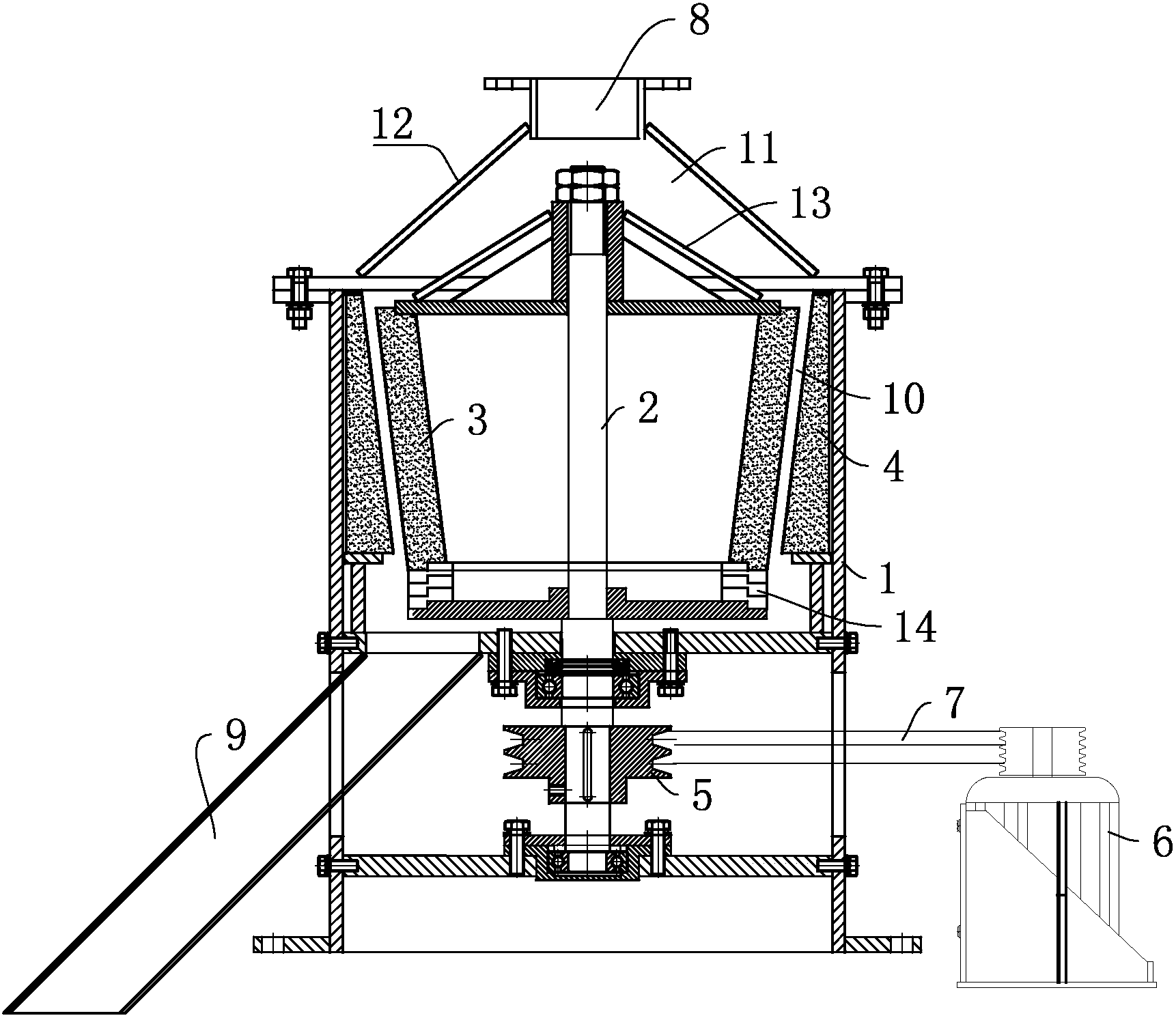
矿砂整形机
图片尺寸1722x1491
矿砂整形机制造技术
图片尺寸1000x866
石子破碎机结构示意图
图片尺寸500x553
1,设备结构上的区别石料整形机即冲击式制砂机,主要由进料斗,分料器
图片尺寸690x468
移动式石头锤式破碎机多少钱石料打砂多功能粉碎机
图片尺寸750x909
河卵石制砂生产线移动制砂机生产线花岗岩颚式破碎机
图片尺寸720x450
威海市圆锥破碎机施工视频
图片尺寸700x568
鄂式破碎机-颚式碎石机设备-鳄式粉碎机设备厂家
图片尺寸750x563
石头整形机结构图:说到石头整形机配件哪家好就要先介绍一下石头整形
图片尺寸629x399
多型号石灰石颚破机洋科水泥块颚式破碎机花岗岩破石机出料均匀
图片尺寸750x642
鄂式破碎机鹅卵石破碎砂石线鄂破昊德机械设备
图片尺寸700x700
厂家直销250*400颚式破碎机 矿山鄂式破碎机 花岗岩矿山破碎机
图片尺寸848x524
破碎机产品结构图
图片尺寸800x599
鹅卵石破碎机硅矿石颚式破石机石灰石碎石机砂石料厂粗碎颚板
图片尺寸750x750