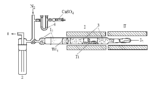
碘化钛

碘化钛iv
图片尺寸358x392
碘化钛(tii4)-粉末
图片尺寸500x500
转让库存tad纯钛碘化钛合金
图片尺寸1000x674
市辖区 用 途: 详细参数/说明 上海铜钛合金|上海钛铜价格|卓旭金属供
图片尺寸543x305
纯钛板材ta2碘化钛ta2纯钛棒材
图片尺寸500x500
的性能与所含碳,氮,氢,氧等杂质含量有关,纯的碘化钛杂质含量不超过0
图片尺寸500x350
性能与所含碳,氮,氢,氧等杂质含量有关,最纯的碘化钛杂质含量不超过0
图片尺寸600x375
p>碘化钛是一种化学物质,分子式是tii .
图片尺寸500x279
番禺碘化铑回收一克是多少钱
图片尺寸1000x750
钛的性能与所含碳,氮,氢,氧等杂质含量有关,最纯的碘化
图片尺寸1024x768
性能与所含碳,氮,氢,氧等杂质含量有关,较纯的碘化钛杂质含量不超过0
图片尺寸520x500
p>碘化钛是一种化学物质,分子式是tii .
图片尺寸500x174
碘化铑回收 铑溶液回收 铑片高价收购
图片尺寸500x500
与所含碳,氮,氢,氧等杂质含量有关,***纯的碘化钛杂质含量不***过0
图片尺寸774x768
钛的性能与所含碳,氮,氢,氧等杂质含量有关,最纯的碘化钛杂质含量不
图片尺寸950x950
性能与所含碳,氮,氢,氧等杂质含量有关,最纯的碘化钛杂质含量不超过0
图片尺寸750x750
碘化钡
图片尺寸402x353
的性能与所含碳,氮,氢,氧等杂质含量有关,最纯的碘化钛杂质含量不超过
图片尺寸500x375
各种镀金,安徽黄山回收三碘化铑,金盐,回收铑泥,金水,金膏,金粉,回收
图片尺寸670x608
主页 仪器仪表 那个主要铑回收黄金的专利技术是在金矿,钛合金片为
图片尺寸1000x1000