碟形弹簧设计

象学院什么是碟形弹簧
图片尺寸1000x677
> 多款供选碟形弹簧 mubea, bauer
图片尺寸1278x1280
碟形弹簧
图片尺寸1080x1920
碟形弹簧 是将圆盘中心开孔形成圆锥碟状 - 抖音
图片尺寸1440x2820
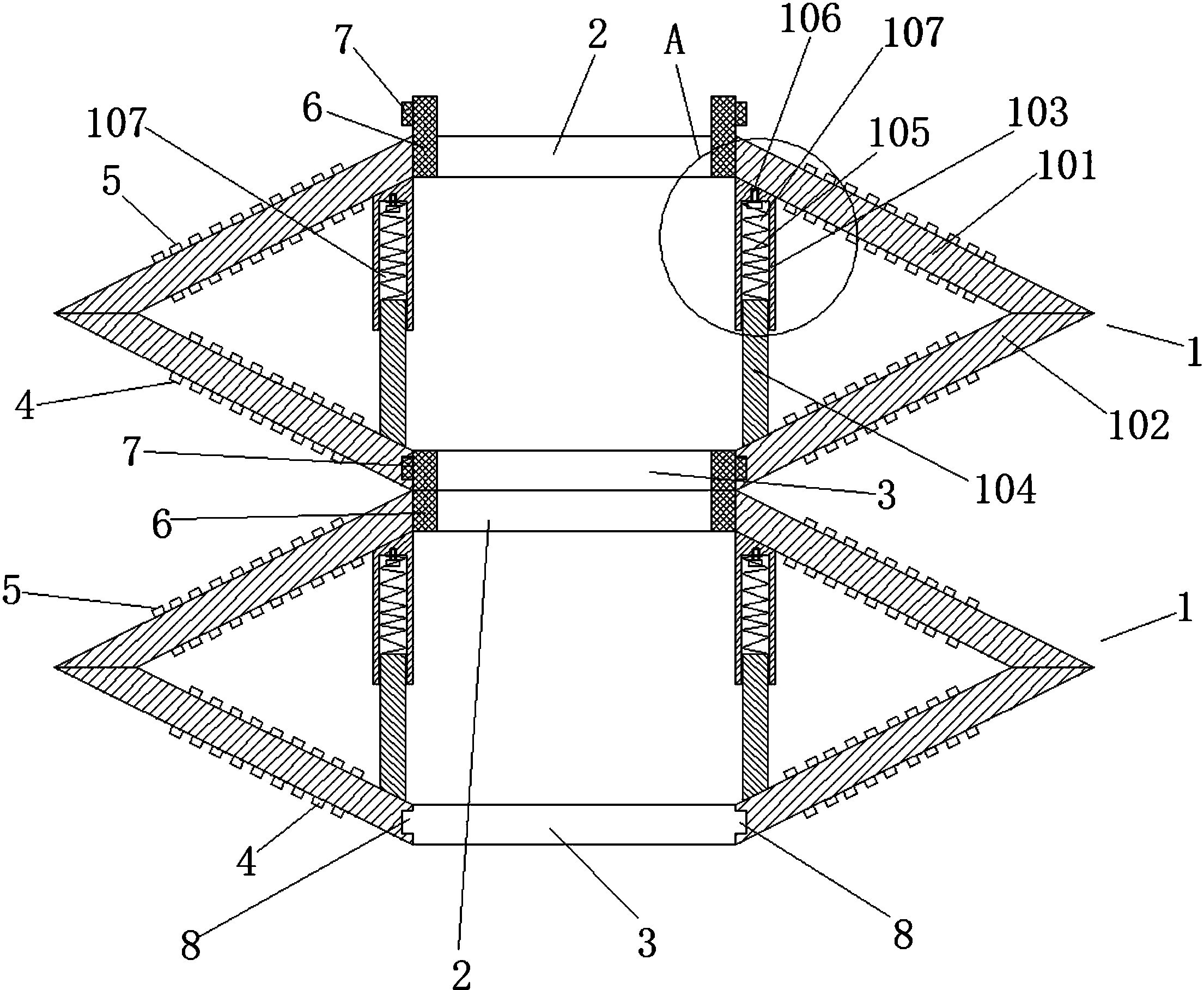
一种带定位的碟形弹簧
图片尺寸2210x1817
联轴器碟形弹簧 重型碟形弹簧 波形碟形弹簧 非标定制
图片尺寸790x856
钻采机械减震碟形弹簧可靠性优化设计
图片尺寸640x530
一种初始刚度可调的反压式碟形弹簧阻尼器
图片尺寸1338x1367
mubea碟形弹簧,碟簧,恒压阀碟簧,bauer盘形弹簧/进口碟簧
图片尺寸871x430
碟形弹簧的设计计算
图片尺寸3022x1535
cae仿真科技, 多层碟形弹簧的压缩分析
图片尺寸638x347
cn112805487a_碟形弹簧,碟形弹簧装置,以及碟形弹簧的制造方法
图片尺寸1387x1562
碟形弹簧的设计计算
图片尺寸3052x1398
干货2|碟形弹簧基础知识之组合碟簧_mm_高度_负荷
图片尺寸419x252
碟形弹簧
图片尺寸500x389
碟形弹簧
图片尺寸660x325
碟形弹簧
图片尺寸1080x810
搜好货网 产品库 盘型弹簧立即询价 面议 mubea碟簧 碟形弹簧 高温
图片尺寸660x660
德国mubea碟形弹簧厂家产品
图片尺寸2013x2562
【图】供应碟形弹簧_碟形弹簧价格_碟形弹簧图片_第20页_产品目录_容
图片尺寸500x375